LEMON Manuals: Even more car manuals for everyone
Home >> Pontiac >> 2005 >> Sunfire Standard >> Repair and Diagnosis >> Engine Performance >> System >> Engine Controls - 2.2L - Introduction >> Schematic and Routing Diagrams >> Engine Controls Schematics

Engine Controls Schematics

Fig 1: Module Power, Ground, Serial Data and MIL
GM1400607Courtesy of GENERAL MOTORS CORP.
Fig 2: 5-Volt & Low Reference Bussing Schematics
GM788898Courtesy of GENERAL MOTORS CORP.
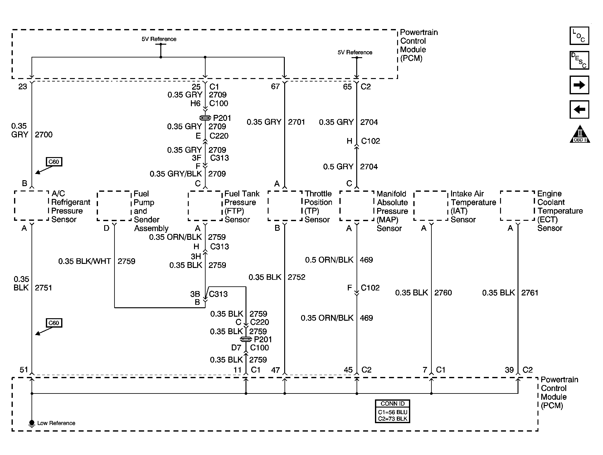
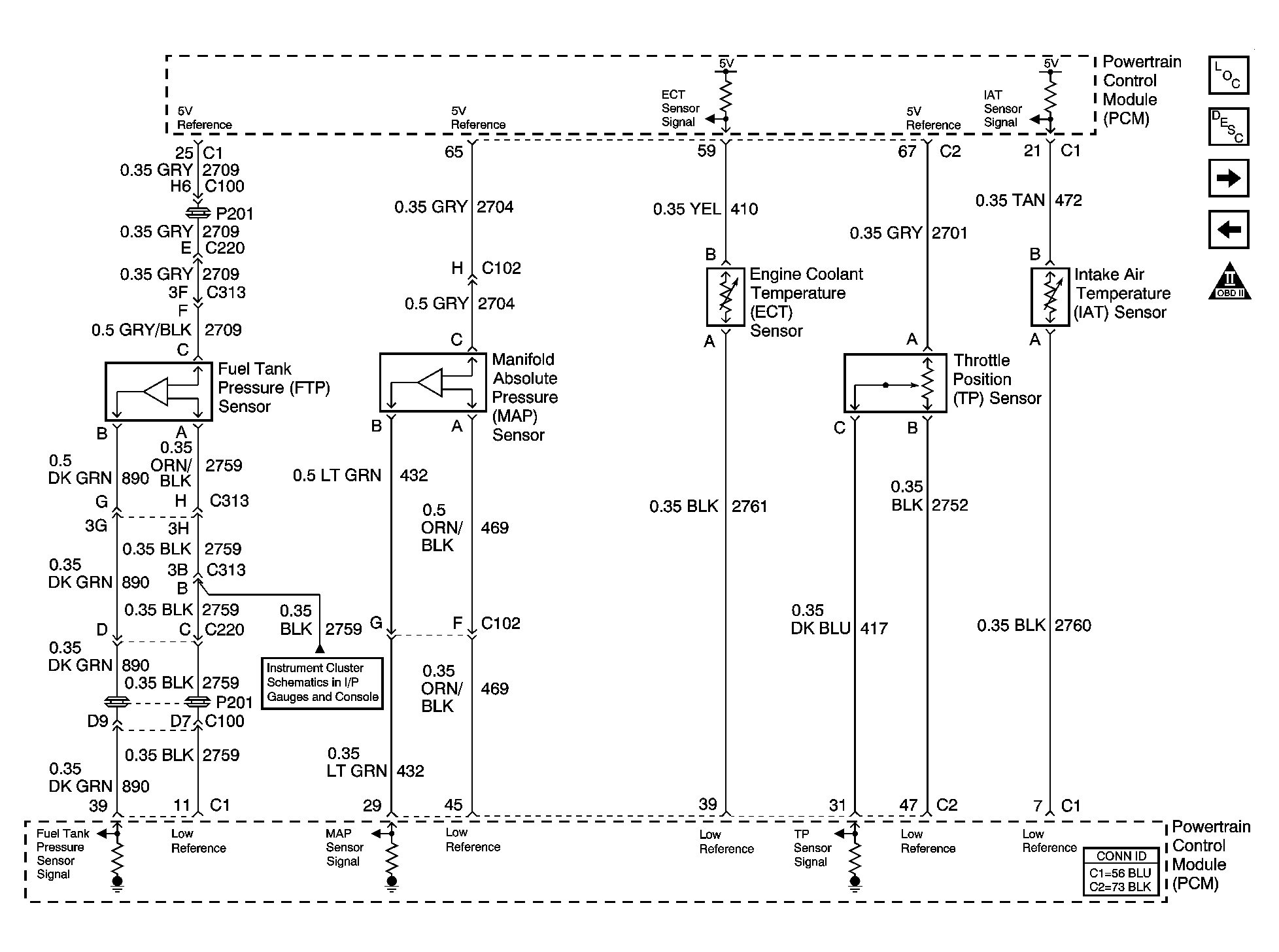
Fig 3: Engine Data Sensors - Pressure & Temperature Schematics
GM783404Courtesy of GENERAL MOTORS CORP.
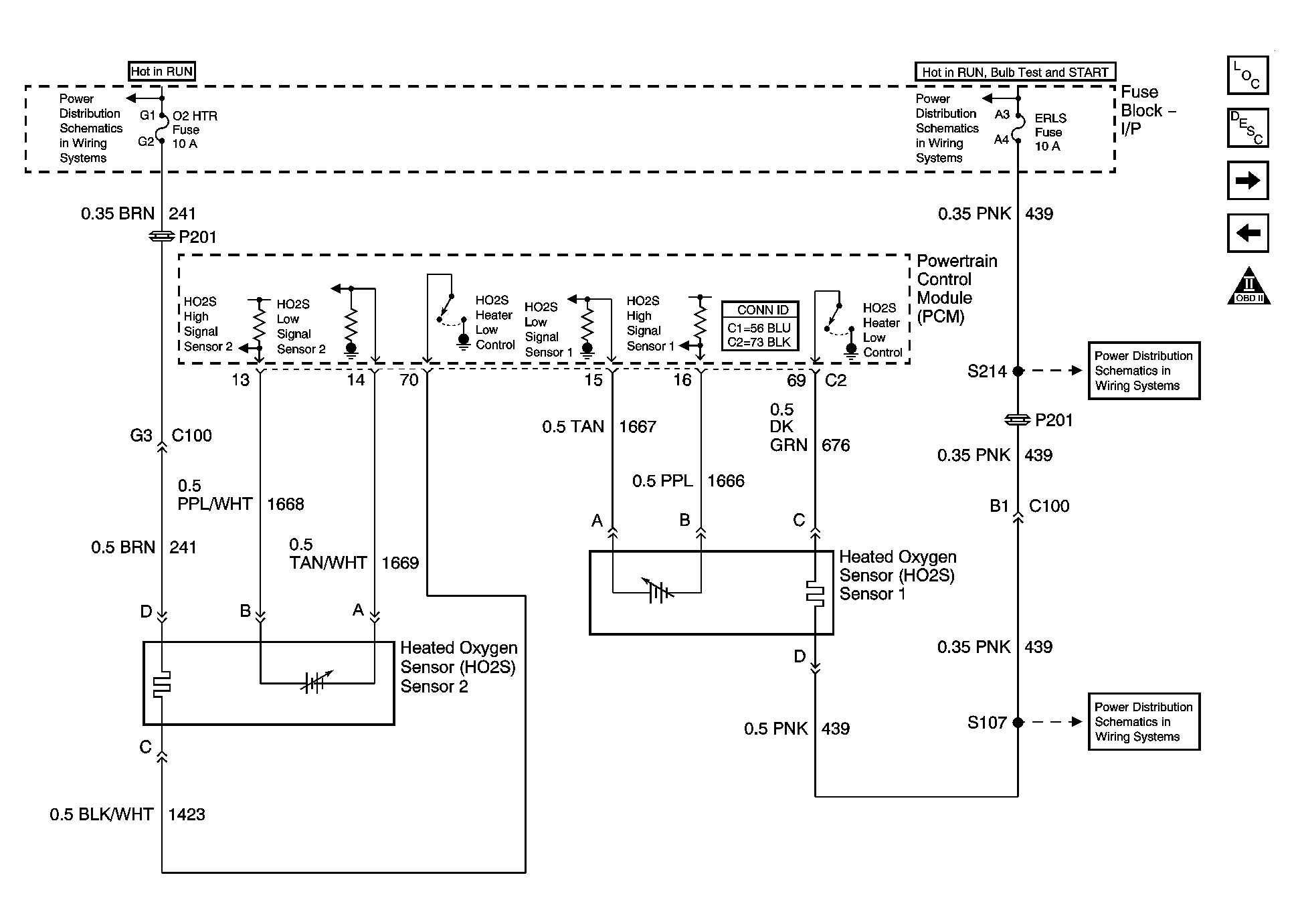
Fig 4: Heated Oxygen Sensors Schematics
GM783405Courtesy of GENERAL MOTORS CORP.
Fig 5: Ignition Controls
GM1400608Courtesy of GENERAL MOTORS CORP.
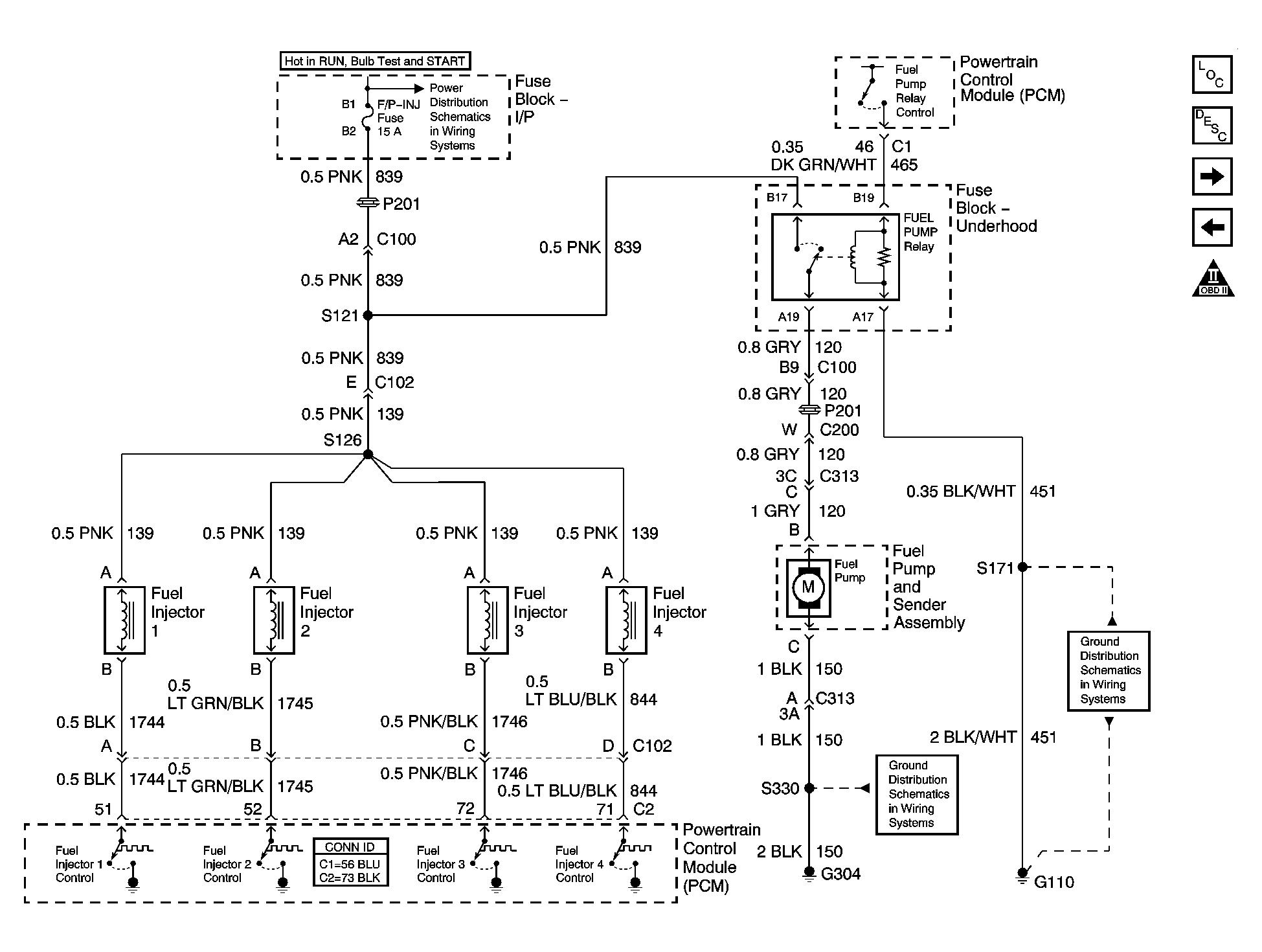
Fig 6: Fuel Delivery Schematics
GM783409Courtesy of GENERAL MOTORS CORP.
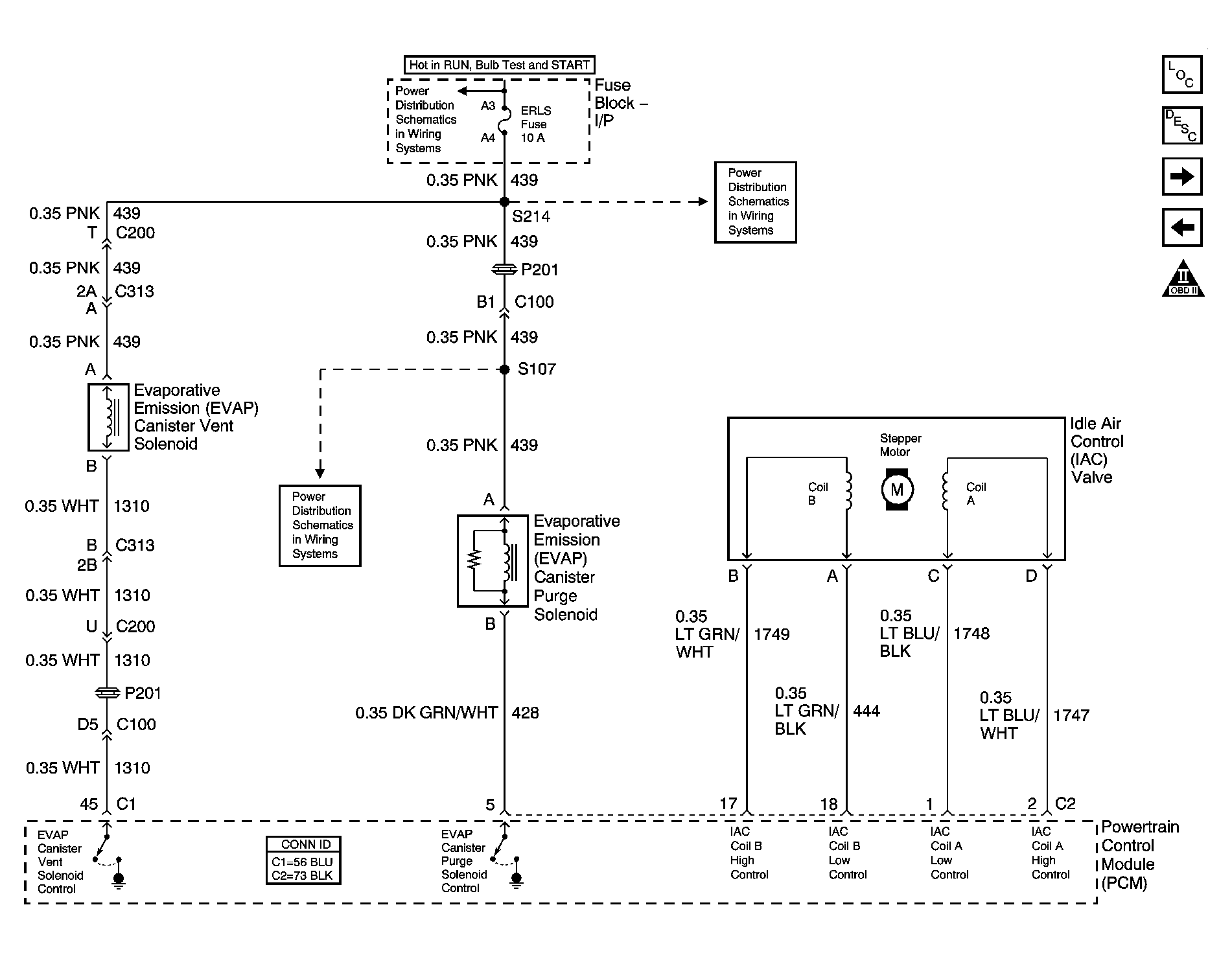
Fig 7: EVAP Controls and IAC
GM783411Courtesy of GENERAL MOTORS CORP.
Fig 8: Transmission Controls - A/T
GM1400609Courtesy of GENERAL MOTORS CORP.
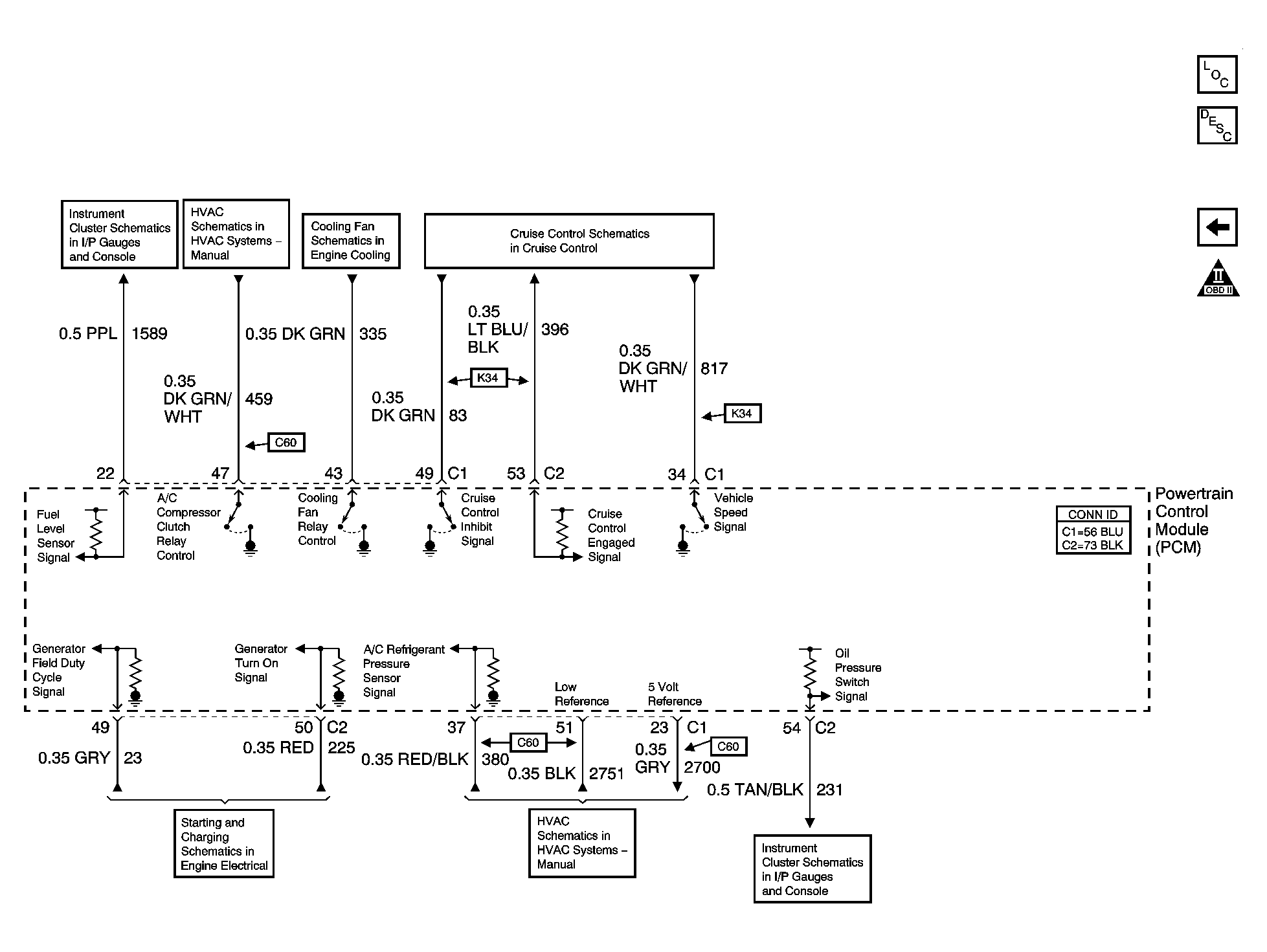
Fig 9: Controlled/Monitored Subsystem References
GM783418Courtesy of GENERAL MOTORS CORP.