LEMON Manuals: Even more car manuals for everyone
Home >> Pontiac >> 2005 >> GTO Standard >> Repair and Diagnosis >> Engine Performance >> System >> Engine Controls - 6.0L - Introduction >> Component Locator >> Engine Control Module (ECM) Connector End Views

Engine Control Module (ECM) Connector End Views

Engine Control Module (ECM) C1

GM1587827Courtesy of GENERAL MOTORS CORP.
Connector Part Information
  • 9123-7148
  • 56 F (BU)
Pin Wire Color Circuit No. Function
1 TN/BK 2500 High Speed GMLAN Serial Data Bus+
2 TN 2501 High Speed GMLAN Serial Data Bus-
3 - - Not Used
4 BN/WH 419 Check Engine Indicator Lamp Output
5-6 - - Not Used
7 BN 1271 Electronic Throttle Pedal Position Return 1
8 PU 1272 Electronic Throttle Pedal Position Return 2
9 - - Not Used
10 BN 5069 Engine Control Relay Coil Control
11-12 - - Not Used
13 YE 447 Starter Relay Output-Coil
14 PK 439 Ignition 1 Voltage
15-17 - - Not Used
18 YE 1843 Accessory Voltage
19 OG 300 Ignition 3 Voltage
20 OG/BK 740 Battery Positive Voltage
21 PU/WH 5197 VSS Signal
22 BU 1161 Electronic Throttle Pedal Position Signal 1
23 - - Not Used
24 GN 890 Fuel Tank Pressure Sensor Signal
25 - - Not Used
26 GN/BK 380 A/C Refrigerant Pressure Sensor Signal
27-28 - - Not Used
29 TH 1274 Electronic Throttle Pedal Position 5-Volt Reference 2
30 GN 2700 A/C Refrigerant Pressure Sensor Signal 5-Volt Reference
31 GY 2709 Fuel Tank Pressure Sensor 1, 5-Volt Reference
32 BU/RD 20 Stop Lamp Switch Signal
33-34 - - Not Used
35 WH/BK 1164 Electronic Throttle Pedal Position 5 Volt Reference 1
36 OG/BK 335 Low Speed Cooling Fan Relay Control
37 PU 30 Fuel Gage Sensor Signal
38 GY 847 Extended Travel Brake Switch Signal
39-40 - - Not used
41 L-BU 1162 Electronic Throttle Pedal Position 2
42 YE 1652 Reverse Lockout Solenoid Control
43 PU/WH 379 CPP Switch Signal
44 - - Not Used
45 GN/WH 465 Fuel Pump Relay Feed-Coil
46 BN 86 Cruise Control Release Signal
47 - - Not Used
48 BN 121 Tachometer Signal
49-50 - - Not Used
51 GN/BU 275 Park/Neutral Position Switch Park Signal
52 PU 5 Crank Voltage
53-54 - - Not Used
55 TN 5514 A/C Refrigerant Pressure Sensor Signal
56 BU/WH 473 High Speed Cooling Fan Relay Control
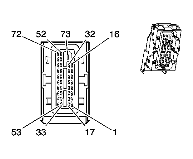
Engine Control Module (ECM) C2

GM1587818Courtesy of GENERAL MOTORS CORP.
Connector Part Information
  • 9123-7131
  • 72-Way F (BK)
Pin Wire Color Circuit No. Function
1 L-GN/RD 3113 HO2S Bank 2 Sensor 1 Heater Control
2 BK/WH 3212 HO2S Bank 1 Sensor 1 Heater Control
3 - - Not Used
4 L-GN 878 Fuel Injector 8 Control
5 BU 1744 Fuel Injector 1 Control
6 GN 1745 Fuel Injector 2 Control
7 PK/BK 877 Fuel Injector 7 Control
8 BN/YE 844 Fuel Injector 4 Control
9 PU 1746 Fuel Injector 3 Control
10 GY 845 Fuel Injector 5 Control
11-12 - - Not Used
13 YE 846 Fuel Injector 6 Control
14 L-BU/BK 574 Low Reference
15 RD/WH 632 Low Reference
16 BN 2129 Low Reference
17-19 - - Not Used
20 BK 469 MAP Sensor-Return
21 GN 470 Low Reference
22-23 - - Not Used
24 BN/WH 331 Engine Oil Pressure Signal
25 - - Not Used
26 BN 633 CMP Sensor
27-28 - - Not Used
29 PU 486 Throttle Position Sensor 2 Signal
30 - - Not Used
31 GN 485 Throttle Position Sensor 1 Signal
32-33 - - Not Used
35 PU/WH 2704 MAP Sensor 5-Volt Reference
36 BN/WH 1704 Low Reference
37 BU/YE 596 Reference Voltage 5-Volt Reference
38-40 - - Not Used
41 L-BU/BK 1688 5-Volt Reference
42 - - Not Used
43 L-BU/WH 2867 12-Volt Reference Voltage
44 WH/BK 631 Low Coolant Level Indicator Signal
45 GY 23 Generator Turn On Signal
46 L-GN 432 MAP Sensor Signal
47 - - Not Used
48 PU 1665 HO2S High Signal Bank 1 Sensor 1
49 BU/BK 1664 HO2S Low Signal Bank 1 Sensor 1
50 GN/YE 428 EVAP Canister Purge Solenoid Control
51 GY 1666 HO2S High Signal Bank 2 Sensor 1
52 GY/BK 2761 Low Reference
53 YE 2127 Ignition Coil 7 Control
54 WH 1310 EVAP Canister Vent Solenoid Control
55 YE 410 ECT Sensor Signal 5-Volt Reference
56 OG 225 Generator Field Duty Cycle Signal
57 L-GN 2126 Ignition Coil 6 Control
58 WH 2124 Ignition Coil 4 Control
59 GN 2125 Ignition Coil 5 Control
60 BN 582 TAC Motor Control-2
61 BU 2123 Ignition Coil 3 Control
62 BU 573 CKP Sensor Signal
63 YE 581 TAC Motor Control-1
64 PU 2130 Low Reference
65 L-BU 2128 Ignition Coil 8 Control
66 YE/BK 2122 Ignition Coil 2 Control
67 - - Not Used
68 BU 496 Knock Sensor 1 Signal
69 GY 2303 Knock Sensor 1 Return
70 GY/BK 1667 HO2S Low Signal Bank 2 Sensor 1
71 GY 1716 Knock Sensor 2 Return
72 L-BU 1876 Knock Sensor 2 Signal
73 BK/RD 450 Ground
Engine Control Module (ECM) C3

GM1587827Courtesy of GENERAL MOTORS CORP.
Connector Part Information
  • 9123-7148
  • 56-Way F (GY)
Pin Wire Color Circuit No. Function
1 - - Not Used
2 L-BU 3223 HO2S Bank 1 Sensor 2 Heater Control
3 RD/WH 3122 HO2S Bank 2 Sensor 2 Heater Control
4-10 - - Not Used
11 BN/WH 492 MAF Sensor Signal
12-17 - - Not Used
18 BN/RD 1669 HO2S Low Signal Bank 1 Sensor 2
19 PU/WH 1668 HO2S High Signal Bank 1 Sensor 2
20 PU/BK 1670 HO2S High Signal Bank 2 Sensor 2
21 BN/BU 1671 HO2S Low Signal Bank 2 Sensor 2
22 OG/BK 1786 Park/Neutral Signal
23 - - Not Used
24 BK 2759 Low Reference
25-33 - - Not Used
34 BK 472 IAT Sensor Signal
35-42 - - Not Used
44 BN/OG 401 VSS Low Signal
45 BU/WH 400 VSS High Signal
46-47 - - Not Used
48 GY 587 Skip Shift Solenoid Control
49 BK 2759 Low Reference
50 - - Not Used
51 L-GN/BK 459 A/C Compressor Clutch Relay Control
52-56 - - Not Used