LEMON Manuals: Even more car manuals for everyone
Home >> Pontiac >> 2005 >> Aztek Base, AWD >> Repair and Diagnosis >> External Pages >> Different car >> Section 91 (Antilock Brake System, Traction Control System & Stability Control System) >> Repair Instructions >> Yaw Rate Sensor/Lateral Accelerometer Replacement >> Installation Procedure

Installation Procedure

WARNING: This page is about a different car, the 2004 Pontiac Grand Prix. However, it is still accessible from the selected car via links, so may be relevant.
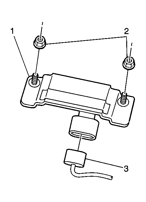
  1. Install the yaw rate sensor/lateral accelerometer (1).
  2. NOTE: Refer to Fastener Notice in Cautions and Notices.
  3. Install the 2 yaw rate sensor/lateral accelerometer nuts (2).

    Tighten:  Tighten the yaw rate sensor/lateral accelerometer mounting nuts to 6 N.m(53 lb in).

  4. Fig 1: Yaw Rate Sensor/Lateral Accelerometer Mounting Nuts
    GM899225Courtesy of GENERAL MOTORS CORP.
  5. Connect the yaw rate sensor/lateral accelerometer electrical connector (2) to the yaw rate sensor/lateral accelerometer (1).
  6. Fig 2: Yaw Rate Sensor/Lateral Accelerometer Electrical Connector
    GM899221Courtesy of GENERAL MOTORS CORP.
  7. Install the front floor center console. Refer to Console Replacement - Front Floor in Instrument Panel, Gages, and Console.
  8. Perform the ABS Diagnostic System Check. Refer to Diagnostic System Check - ABS .