LEMON Manuals: Even more car manuals for everyone
Home >> Pontiac >> 2005 >> Aztek Base, AWD >> Repair and Diagnosis >> External Pages >> Different car >> Section 8 (Lighting Systems) >> Component Locator >> Lighting Systems Connector End Views

Lighting Systems Connector End Views

WARNING: This page is about a different car, the 2004 Chevrolet Monte Carlo and 2004 Chevrolet Impala. However, it is still accessible from the selected car via links, so may be relevant.
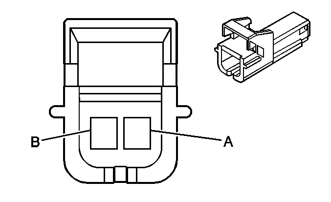
Ambient Light Sensor Terminal Identification

GM82383Courtesy of GENERAL MOTORS CORP.
Connector Part Information
  • 12047662
  • 2-Way F Metri-Pack 150 Series (BLK)
Pin Wire Color Circuit No. Function
A YEL/BLK 1138 DRL Ambient Light Sensor Low Reference
B LT GRN
/BLK
1137 DRL Ambient Light Sensor Signal
Ashtray Lamp Terminal Identification

GM38556Courtesy of GENERAL MOTORS CORP.
Connector Part Information
  • 12124722
  • Lamp Socket Wedge Base W2 (GRY)
Pin Wire Color Circuit No. Function
A GRY 8 Instrument Panel Lamp Supply Voltage
B BLK 1050 Ground
B BLK 1550 Ground (D55)
Auxiliary Dome Lamp Terminal Identification

GM35441Courtesy of GENERAL MOTORS CORP.
Connector Part Information
  • 12047663
  • 2-Way M Metri-Pack 150 (BLK)
Pin Wire Color Circuit No. Function
A DK BLU/
WHT
149 Courtesy Lamp Supply Voltage
B BLK 1750 Ground
Backup Lamp - Left Terminal Identification (Impala)

GM130733Courtesy of GENERAL MOTORS CORP.
Connector Part Information
  • 12146418
  • Lamp Socket (LT GRY)
Pin Wire Color Circuit No. Function
A LT GRN 24 Backup Lamp Feed
B BLK 150 Ground
Backup Lamp - Left Terminal Identification (Monte Carlo)

GM744036Courtesy of GENERAL MOTORS CORP.
Connector Part Information
  • 15324946
  • Lamp Socket Wedge Base W2 (DK GRY)
Pin Wire Color Circuit No. Function
A LT GRN 24 Backup Lamp Feed
B BLK 1750 Ground
Backup Lamp - Right Terminal Identification (Impala)

GM130733Courtesy of GENERAL MOTORS CORP.
Connector Part Information
  • 12146418
  • Lamp Socket (LT GRY)
Pin Wire Color Circuit No. Function
A LT GRN 24 Backup Lamp Feed
B BLK 150 Ground
Backup Lamp - Right Terminal Identification (Monte Carlo)

GM744036Courtesy of GENERAL MOTORS CORP.
Connector Part Information
  • 15324946
  • Lamp Socket Wedge Base W2 (DK GRY)
Pin Wire Color Circuit No. Function
A LT GRN 24 Backup Lamp Feed
B BLK 1750 Ground
Center High Mounted Stop Lamp Terminal Identification (CHMSL)

GM82383Courtesy of GENERAL MOTORS CORP.
Connector Part Information
  • 12047662
  • 2-Way F Metri-Pack 150 Series (BLK)
Pin Wire Color Circuit No. Function
A WHT 17 Stop Lamp Switch Signal
B BLK 1750 Ground
Courtesy/Reading Lamp - Left Terminal Identification

GM333035Courtesy of GENERAL MOTORS CORP.
Connector Part Information
  • 12047781
  • 3-Way F Metri-Pack 150 Series (BLK)
Pin Wire Color Circuit No. Function
A GRY 157 Interior Lamp Control
B BLK 1750 Ground
C DK BLU/
WHT
149 Courtesy Lamp Supply Voltage
Courtesy/Reading Lamp - Right Terminal Identification

GM333035Courtesy of GENERAL MOTORS CORP.
Connector Part Information
  • 12047781
  • 3-Way F Metri-Pack 150 Series (BLK)
Pin Wire Color Circuit No. Function
A GRY 157 Interior Lamp Control
B BLK 1750 Ground
C DK BLU/
WHT
149 Courtesy Lamp Supply Voltage
Emergency Vehicle Headlamps Flasher Terminal Identification, C1

GM646169Courtesy of GENERAL MOTORS CORP.
Connector Part Information
  • 12146045
  • 5-Way F Metri-Pack 150 Series Sealed (NAT)
Pin Wire Color Circuit No. Function
A BLK 150 Ground
B LT GRN/BLK 592 DRL Relay Control
C ORN 1340 Battery Positive Voltage
D PNK 1200 Headlamp High Beam Signal
E PNK 2322 Emergency Vehicle Headlamps Flasher Supply Voltage
Emergency Vehicle Headlamps Flasher Terminal Identification, C2

GM684802Courtesy of GENERAL MOTORS CORP.
Connector Part Information
  • 12103974
  • 5-Way M Metri-Pack 150 Series Sealed (NAT)
Pin Wire Color Circuit No. Function
A - - Not Used
B LT GRN/BLK 592 DRL Relay Control
C - - Not Used
D PNK 1200 Headlamp High Beam Signal
E - - Not Used
Emergency Vehicle Rear Compartment Lid Lamp - Left Terminal Identification

GM95782Courtesy of GENERAL MOTORS CORP.
Connector Part Information
  • 12124842
  • 2-Way M Metri-Pack 150 Series (BLK)
Pin Wire Color Circuit No. Function
A TAN 2244 Left Emergency Vehicle Lid Lamp Signal
B BRN 2238 Right Emergency Vehicle Lid Lamp Signal
Emergency Vehicle Rear Compartment Lid Lamp - Right Terminal Identification

GM95782Courtesy of GENERAL MOTORS CORP.
Connector Part Information
  • 12103721
  • 2-Way M Metri-Pack 150 Series (BLK)
Pin Wire Color Circuit No. Function
A BRN 2238 Right Emergency Vehicle Lid Lamp Signal
B - - Not Used
Emergency Vehicle Rear Compartment Lid Lamps Relay Terminal Identification

GM309518Courtesy of GENERAL MOTORS CORP.
Connector Part Information
  • 12129715
  • 6-Way F Metri-Pack 280 Series Flexlock (GRY)
Pin Wire Color Circuit No. Function
A1 RED/BLK 744 Trunk Ajar Switch Signal
A2 TAN 2244 Left Emergency Vehicle Lid Lamp Signal
B1-B2 - - Not Used
C1 ORN 2440 Battery Positive Voltage
ORN 2440 Battery Positive Voltage
C2 ORN 2440 Battery Positive Voltage
Emergency Vehicle Rear Lamps Flasher Terminal Identification, C1

GM62439Courtesy of GENERAL MOTORS CORP.
Connector Part Information
  • 12047886
  • 8-Way F Metri-Pack 150 Series (BLK)
Pin Wire Color Circuit No. Function
A WHT 17 Stop Lamp Switch Signal
B YEL 18 Left Rear Stop/Turn Lamp Supply Voltage
C DK GRN 19 Right Rear Stop/Turn Lamp Supply Voltage
D LT GRN 24 Backup Lamp Supply Voltage
E BLK 1750 Ground
F ORN 340 Battery Positive Voltage
G LT BLU 2624 Emergency Vehicle Rear Lamps Flasher Supply Voltage
H - - Not Used
Emergency Vehicle Rear Lamps Flasher Terminal Identification, C2

GM62434Courtesy of GENERAL MOTORS CORP.
Connector Part Information
  • 12045688
  • 8-Way M Metri-Pack 150 Series (BLK)
Pin Wire Color Circuit No. Function
A WHT 17 Stop Lamp Switch Signal
B YEL 18 Left Rear Stop/Turn Lamp Supply Voltage
C DK GRN 19 Right Rear Stop/Turn Lamp Supply Voltage
D LT GRN 24 Backup Lamp Supply Voltage
E BLK 1750 Ground
F ORN 340 Battery Positive Voltage
G LT BLU 2624 Emergency Vehicle Rear Lamps Flasher Supply Voltage
H - - Not Used
Emergency Vehicle Rear Window Panel Lamp - Left Terminal Identification

GM95782Courtesy of GENERAL MOTORS CORP.
Connector Part Information
  • 12065651
  • 2-Way M Metri-Pack 150 Series (BLK)
Pin Wire Color Circuit No. Function
A YEL 18 Left Rear Stop/Turn Lamp Supply Voltage
B - - Not Used
Emergency Vehicle Rear Window Panel Lamp - Right Terminal Identification

GM95782Courtesy of GENERAL MOTORS CORP.
Connector Part Information
  • 12065651
  • 2-Way M Metri-Pack 150 Series (BLK)
Pin Wire Color Circuit No. Function
A DK GRN 19 Right Rear Stop/Turn Lamp Supply Voltage
B - - Not Used
Fog Lamp - LF Terminal Identification

GM646148Courtesy of GENERAL MOTORS CORP.
Connector Part Information
  • 12020599
  • 2-Way F Metri-Pack 280 Series (BLK)
Pin Wire Color Circuit No. Function
A PPL 34 Front Fog Lamps Supply Voltage
B BLK 150 Ground
Fog Lamp - RF Terminal Identification

GM646148Courtesy of GENERAL MOTORS CORP.
Connector Part Information
  • 12020599
  • 2-Way F Metri-Pack 280 Series (BLK)
Pin Wire Color Circuit No. Function
A PPL 34 Front Fog Lamps Supply Voltage
B BLK 150 Ground
Fog Lamp Switch Terminal Identification

GM39665Courtesy of GENERAL MOTORS CORP.
Connector Part Information
  • 12089248
  • 4-Way F Metri-Pack 150 Series (NAT)
Pin Wire Color Circuit No. Function
A BLK/WHT 1251 Ground
B GRY 8 Instrument Panel Lamp Supply Voltage - 1
C PPL 34 Front Fog Lamps Supply Voltage
D ORN 192 Front Fog Lamp Switch Signal
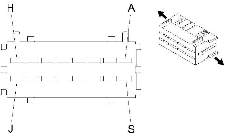
Hazard Switch Terminal Identification

GM62464Courtesy of GENERAL MOTORS CORP.
Connector Part Information
  • 12064769
  • 10-Way F Metri-Pack 150 Series (NAT)
Pin Wire Color Circuit No. Function
A BLK 1050 Ground
B ORN 1240 Battery Positive Voltage
C PNK 339 Battery Positive Voltage
D - - Not Used
E GRY 8 Instrument Panel Lamp Supply Voltage - 1
F LT BLU 14 Left Turn Signal Lamps Supply Voltage (Impala)
F YEL 685 Left Turn Signal Lamps Supply Voltage (Monte Carlo)
G DK BLU 15 Right Turn Signal Lamps Supply Voltage (Impala)
G TAN 686 Right Turn Signal Lamps Supply Voltage (Monte Carlo)
H PPL 16 Turn Signal Flasher Signal
J BRN 27 Hazard Flasher Signal (Impala)
K WHT 17 Stop Lamp Switch Signal (Impala)
Headlamp - Left Terminal Identification

GM666638Courtesy of GENERAL MOTORS CORP.
Connector Part Information
  • 12177081
  • 10-Way F GT 150 Sealed (BLK)
Pin Wire Color Circuit No. Function
A BLK 150 Ground
B-C - - Not Used
D LT BLU 14 Left Turn Signal Lamps Supply Voltage
E YEL 32 Instrument Panel Lamp Fuse Supply Voltage - 1
F DK BLU 593 DRL Headlamp High Beam Supply Voltage
G PNK 1200 Headlamp High Beam Signal
H ORN 1340 Battery Positive Voltage
J DK BLU 1201 Headlamp Low Beam Signal
K - - Not Used
Headlamp - Right Terminal Identification

GM666638Courtesy of GENERAL MOTORS CORP.
Connector Part Information
  • 12177081
  • 10-Way F GT 150 Sealed (BLK)
Pin Wire Color Circuit No. Function
A BLK 150 Ground
B-C - - Not Used
D DK BLU 15 Right Turn Signal Lamps Supply Voltage
E YEL 32 Instrument Panel Lamp Fuse Supply Voltage - 1
F ORN 1440 Battery Positive Voltage
G PNK 1200 Headlamp High Beam Signal
H ORN 1440 Battery Positive Voltage
J DK BLU 1201 Headlamp Low Beam Signal
K - - Not Used
Headlamp Switch Terminal Identification

GM283847Courtesy of GENERAL MOTORS CORP.
Connector Part Information
  • 12129431
  • 16-Way F Metri-Pack 280 ACT Series (BLK)
Pin Wire Color Circuit No. Function
A BLK/WHT 1251 Ground
B-C - - Not Used
D YEL 10 Headlamp Switch Signal
E BLK/WHT 1251 Ground
F - - Not Used
G LT BLU 74 Park Lamp Switch Signal
H - - Not Used
J GRY 8 Instrument Panel Lamp Supply Voltage - 1
K-L - - Not Used
M DK BLU
/WHT
1495 Courtesy Lamp Switch Signal
N BLK/WHT 1251 Ground
P BLK 1050 Ground
R GRY 8 Instrument Panel Lamp Supply Voltage - 1
S BRN/WHT 301 Park Lamp Switch On Signal
I/P Compartment Lamp Terminal Identification (Early Production)

GM82383Courtesy of GENERAL MOTORS CORP.
Connector Part Information
  • 12047662
  • 2-Way F Metri-Pack 150 Series (BLK)
Pin Wire Color Circuit No. Function
A DK BLU
/WHT
148 Courtesy Lamp Supply Voltage
B BLK 1050 Ground
I/P Courtesy Lamp - Left Terminal Identification

GM365949Courtesy of GENERAL MOTORS CORP.
Connector Part Information
  • 12084388
  • Lamp Socket Connectors, Bulb Bases, Type W-2 (BLK)
Pin Wire Color Circuit No. Function
A DK BLU/
WHT
148 Courtesy Lamp Supply Voltage
B WHT 156 Courtesy Lamp Low Control
I/P Courtesy Lamp - Right Terminal Identification

GM365949Courtesy of GENERAL MOTORS CORP.
Connector Part Information
  • 12084388
  • Lamp Socket Connectors, Bulb Bases, Type W-2 (BLK)
Pin Wire Color Circuit No. Function
A DK BLU/
WHT
148 Courtesy Lamp Supply Voltage
B WHT 156 Courtesy Lamp Low Control
License Lamp - Left Terminal Identification (Impala)

GM744036Courtesy of GENERAL MOTORS CORP.
Connector Part Information
  • 15324946
  • Lamp Socket Wedge Base W2 (DK GRY)
Pin Wire Color Circuit No. Function
A BRN/WHT 301 Park Lamp Switch - Signal - On
B BLK 1750 Ground
License Lamp Terminal Identification (Monte Carlo)

GM744036Courtesy of GENERAL MOTORS CORP.
Connector Part Information
  • 15324946
  • Lamp Socket Wedge Base W2 (DK GRY)
Pin Wire Color Circuit No. Function
A BRN/WHT 301 Park Lamp Switch - Signal - On
B BLK 1750 Ground
License Lamp - Right Terminal Identification (Impala)

GM744036Courtesy of GENERAL MOTORS CORP.
Connector Part Information
  • 15324946
  • Lamp Socket Wedge Base W2 (DK GRY)
Pin Wire Color Circuit No. Function
A BRN/WHT 301 Park Lamp Switch - Signal - On
B BLK 1750 Ground
PRNDL Lamp Terminal Identification

GM287969Courtesy of GENERAL MOTORS CORP.
Connector Part Information
  • 12162084
  • Lamp Socket Components, Bulb Bases, Type W-2, Axial (LT GRY)
Pin Wire Color Circuit No. Function
A GRY 8 Instrument Panel Lamp Supply Voltage
B BLK 1550 Ground
Rear Compartment Courtesy Lamp Terminal Identification

GM82383Courtesy of GENERAL MOTORS CORP.
Connector Part Information
  • 12047662
  • 2-Way F Metri-Pack 150 Series (BLK)
Pin Wire Color Circuit No. Function
A DK BLU
/WHT
149 Courtesy Lamp Supply Voltage
B ORN/BLK 737 Trunk Lamp Control
Spot Lamp - Left Terminal Identification

GM82383Courtesy of GENERAL MOTORS CORP.
Connector Part Information
  • 12047662
  • 2-Way F Metri-Pack 150 (BLK)
Pin Wire Color Circuit No. Function
A BLK 2710 Left Spot Lamp Supply Voltage
B - - Not Used
Spot Lamp - Right Terminal Identification

GM82383Courtesy of GENERAL MOTORS CORP.
Connector Part Information
  • 12047662
  • 2-Way F Metri-Pack 150 (BLK)
Pin Wire Color Circuit No. Function
A BLK 2711 Right Spot Lamp Supply Voltage
B - - Not Used
Stop Lamp Switch Terminal Identification, C1

GM73251Courtesy of GENERAL MOTORS CORP.
Connector Part Information
  • 12033701
  • 2-Way F Metri-Pack 480 Series (GRY)
Pin Wire Color Circuit No. Function
A ORN 540 Battery Positive Voltage
B WHT 17 Stop Lamp Switch Signal
Stop Lamp Switch Terminal Identification, C2

GM40397Courtesy of GENERAL MOTORS CORP.
Connector Part Information
  • 12033706
  • 4-Way F Metri-Pack 280 Series (BLU)
Pin Wire Color Circuit No. Function
A PNK 139 Ignition 1 Voltage
B DK GRN
/WHT
1135 A/T Shift Lock Control Solenoid Supply Voltage
C PNK 239 Ignition 1 Voltage
D PPL 420 TCC Brake Switch Signal
Surveillance Mode Switch Terminal Identification

GM39665Courtesy of GENERAL MOTORS CORP.
Connector Part Information
  • 12089248
  • 4-Way F Metri-Pack 150 Series (NAT)
Pin Wire Color Circuit No. Function
A BLK/WHT 1251 Ground
B BLK 1050 Ground
C GRY 8 Instrument Panel Lamp Supply Voltage - 1
D PPL 328 Surveillance Mode Switch Signal
Tail Lamp - Left Terminal Identification (Impala)

GM684807Courtesy of GENERAL MOTORS CORP.
Connector Part Information
  • 12110293
  • 3-Way F Metri-Pack 150 Series (BLK)
Pin Wire Color Circuit No. Function
A BRN/WHT 301 Park Lamp Switch On Signal
B YEL 18 Left Rear Stop/Turn Lamp Supply Voltage
C BLK 1750 Ground
Tail Lamp - Right Terminal Identification (Impala)

GM684807Courtesy of GENERAL MOTORS CORP.
Connector Part Information
  • 12110293
  • 3-Way F Metri-Pack 150 Series (BLK)
Pin Wire Color Circuit No. Function
A BRN/WHT 301 Park Lamp Switch On Signal
B DK GRN 19 Right Rear Stop/Turn Lamp Supply Voltage
C BLK 1750 Ground
Tail Lamp - Left Terminal Identification (Monte Carlo)

GM73229Courtesy of GENERAL MOTORS CORP.
Connector Part Information
  • 12129565
  • 4-Way F Metri-Pack 280 Series (GRY)
Pin Wire Color Circuit No. Function
A BRN/WHT 301 Park Lamp Switch On Signal
B BLK 1750 Ground
C YEL 685 Left Turn Signal Lamps Supply Voltage
D WHT 17 Stop Lamp Switch Signal
Tail Lamp - Right Terminal Identification (Monte Carlo)

GM73229Courtesy of GENERAL MOTORS CORP.
Connector Part Information
  • 12129565
  • 4-Way F Metri-Pack 280 Series (GRY)
Pin Wire Color Circuit No. Function
A BRN/WHT 301 Park Lamp Switch On Signal
B BLK 1750 Ground
C TAN 686 Right Turn Signal Lamps Supply Voltage
D WHT 17 Stop Lamp Switch Signal
Vanity Mirror Lamp - Left Terminal Identification

GM35441Courtesy of GENERAL MOTORS CORP.
Connector Part Information
  • 12047663
  • 2-Way M Metri-Pack 150 (BLK)
Pin Wire Color Circuit No. Function
A DK BLU/
WHT
149 Courtesy Lamp Supply Voltage
B BLK 1750 Ground
Vanity Mirror Lamp - Right Terminal Identification

GM35441Courtesy of GENERAL MOTORS CORP.
Connector Part Information
  • 12047663
  • 2-Way M Metri-Pack 150 Series (BLK)
Pin Wire Color Circuit No. Function
A DK BLU/
WHT
149 Courtesy Lamp Supply Voltage
B BLK 1750 Ground