LEMON Manuals: Even more car manuals for everyone
Home >> Pontiac >> 2005 >> Aztek Base, AWD >> Repair and Diagnosis >> External Pages >> Different car >> Section 2 (Data Link Communication System) >> Component Locator >> Data Link Communications Component Views

Data Link Communications Component Views

WARNING: This page is about a different car, the 2004 Chevrolet Monte Carlo and 2004 Chevrolet Impala. However, it is still accessible from the selected car via links, so may be relevant.
Fig 1: Component Views - Lower Center of Instrument Panel (w/o 9C1/9C3)
GM487935Courtesy of GENERAL MOTORS CORP.
Callout Component Name
1 G203
2 Inflatable Restraint Steering Wheel Module Coil Connector C1
3 Data Link Connector (DLC)
4 C201
5 Stop Lamp Switch Connectors
6 Cruise Control Release Switch Connector
7 Cruise Control Release Switch
8 G201
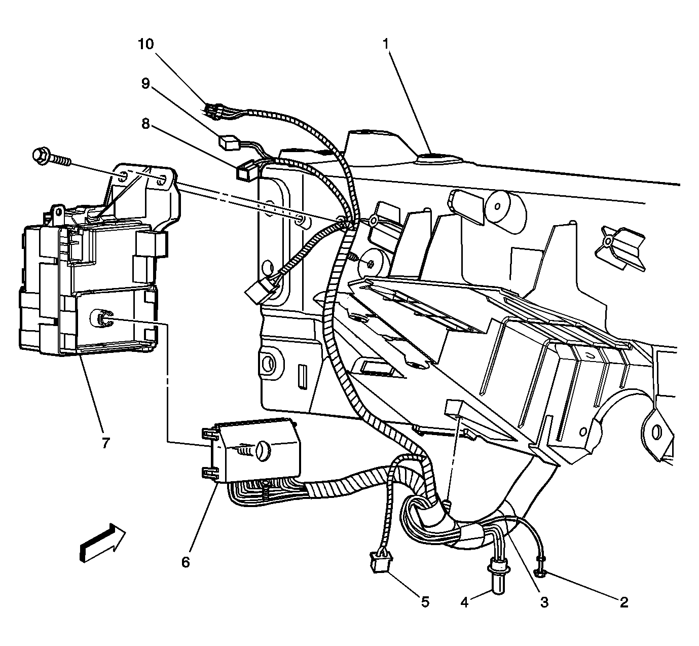
Fig 2: Component Views - Left Side of Instrument Panel Support
GM743324Courtesy of GENERAL MOTORS CORP.
Callout Component Name
1 Instrument Panel Carrier
2 C205 (Radio Coax)
3 Splice Pack-SP205 (Taped Over)
4 Footwell Courtesy Lamp-Left
5 Rear Compartment Lid Release Switch Connector
6 Junction Block-Left I/P Connector C1
7 Junction Block-Left I/P
8 Traction Control Switch (Impala) Connector
9 Fog Lamp Switch Connector
10 Headlamp Switch Connector