LEMON Manuals: Even more car manuals for everyone
Home >> Pontiac >> 2005 >> Aztek Base, AWD >> Repair and Diagnosis >> External Pages >> Different car >> Section 10 (Entertainment System) >> Component Locator >> Entertainment Component Views

Entertainment Component Views

WARNING: This page is about a different car, the 2004 Chevrolet Monte Carlo and 2004 Chevrolet Impala. However, it is still accessible from the selected car via links, so may be relevant.
Fig 1: Steering Wheel Controls (Radio)
GM809950Courtesy of GENERAL MOTORS CORP.
Callout Component Name
1 Turn Signal/Multifunction Switch
2 Inflatable Restraint Steering Wheel Module Coil Connector C5
3 Steering Wheel
4 Steering Wheel Controls-Right-Radio
5 Steering Wheel Controls-Right-Cruise Control
6 Inflatable Restraint Steering Wheel Module Coil Connector C2
7 Inflatable Restraint Steering Wheel Module
8 Horn Switch Spring Loaded Contact
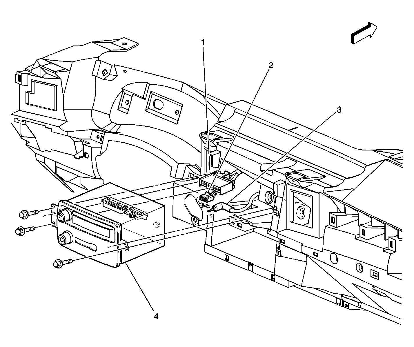
Fig 2: Radio, Center of Instrument Panel
GM498318Courtesy of GENERAL MOTORS CORP.
Callout Component Name
1 Radio Connector C1
2 Radio Connector C2
3 Radio Coax Connector
4 Radio
Fig 3: Front Door Speakers - Typical
GM498327Courtesy of GENERAL MOTORS CORP.
Callout Component Name
1 Speaker-RF Door Connector
2 Speaker-RF Door
3 Speaker-RF Door Tweeter
Fig 4: Digital Radio Antenna, Rear Center of Roof (U2K)
GM870002Courtesy of GENERAL MOTORS CORP.
Callout Component Name
1 Digital Radio Antenna (U2K)
2 Digital Radio Antenna Inline Connector (U2K)
Fig 5: Speaker, Right Side of Package Shelf, Left Similar
GM498323Courtesy of GENERAL MOTORS CORP.
Callout Component Name
1 Speaker-RR Connector
2 Speaker-RR
Fig 6: Audio Amplifier, Below Package Shelf
GM772336Courtesy of GENERAL MOTORS CORP.
Callout Component Name
1 Package Shelf
2 Audio Amplifier Connector, C1
3 Audio Amplifier Connector, C2
4 Audio Amplifier
Fig 7: Radio Antenna Module, Left Side of Rear Window
GM498329Courtesy of GENERAL MOTORS CORP.
Callout Component Name
1 Main Body Wiring Harness
2 Radio Antenna Module Connection to Rear Defogger Grid
3 Radio Antenna Module Connector
4 Radio Antenna Module Coax Connector
5 Radio Antenna Module
6 Radio Rear Window Antenna Connection
Fig 8: Digital Radio Receiver, Rear of Right Rear Wheelhouse
GM858585Courtesy of GENERAL MOTORS CORP.
Callout Component Name
1 Digital Radio Receiver