LEMON Manuals: Even more car manuals for everyone
Home >> Pontiac >> 2005 >> Aztek Base, AWD >> Repair and Diagnosis (Single Page) >> Transmission >> Automatic Trans >> Shift Interlock System >> Component Locator >> Automatic Transmission Shift Lock Control Component Views

Automatic Transmission Shift Lock Control Component Views

Fig 1: Center Console Component View Component View (Pontiac)
GM1397849Courtesy of GENERAL MOTORS CORP.
Callout Component Name
1 Body Control Module (BCM) C2
2 Body Control Module (BCM) C1
3 Body Control Module (BCM) C0
4 Automatic Transmission Floor Shift Control
5 Automatic Transmission Floor Shift Control Connector
6 Splice Pack 315
7 Fuse Block - Center Console C2
8 Fuse Block - Center Console C1
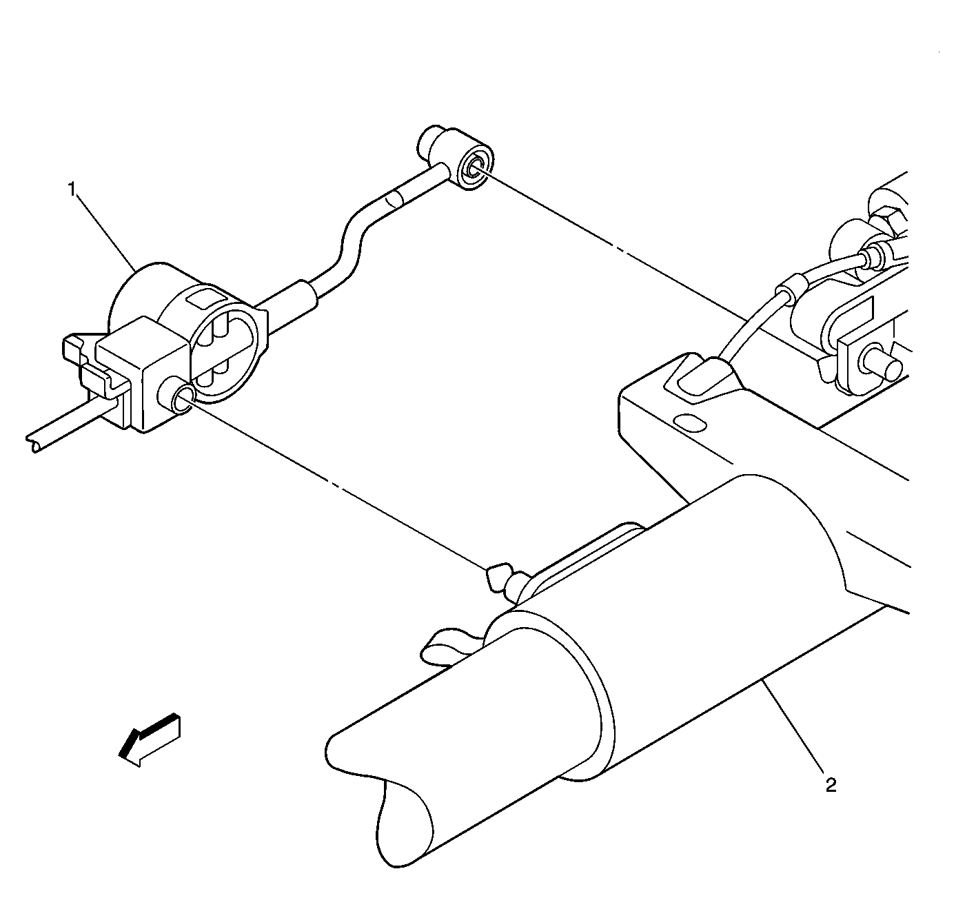
Fig 2: Steering Column Component View Component View (Buick)
GM863735Courtesy of GENERAL MOTORS CORP.
Callout Component Name
1 A/T Shift Lock Control Solenoid
2 Steering Column