LEMON Manuals: Even more car manuals for everyone
Home >> Pontiac >> 2005 >> Aztek Base, AWD >> Repair and Diagnosis (Single Page) >> Transmission >> Automatic Trans >> Automatic Transaxle - Introduction & Repair Instructions >> Description and Operation >> Electronic Component Description >> Lever Assembly/Manual Shaft Detent with Internal Mode Switch

Lever Assembly/Manual Shaft Detent with Internal Mode Switch

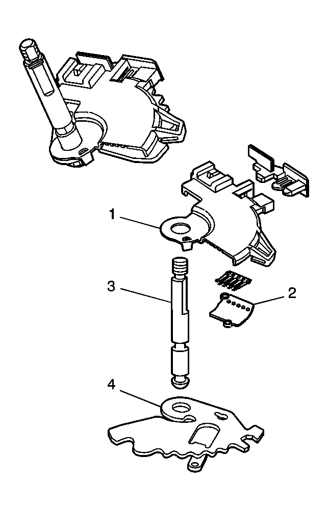
Fig 1: Lever Assembly/Manual Shaft Detent with Internal Mode Switch
GM954460Courtesy of GENERAL MOTORS CORP.

The lever assembly/manual shaft detent with internal mode switch (IMS) is a sliding contact electrical switch assembly that corresponds to the PRNDL position selected. Each of the PRNDL positions has a unique ground pattern on four wires from the control module.

The assembly consists of two major components:

The range detection is accomplished by securing the moving contacts to the detent lever. When the driver selects a PRNDL position, the detent lever inside the transmission rotates. This rotates the insulator which in turn grounds the four wires in a unique pattern for each gear selection, corresponding to the PRNDL position selected. The IMS is electrically connected by five wires (four of which the control module supplies voltage to and one wire that is a common ground) to the transmission pass through connector.