LEMON Manuals: Even more car manuals for everyone
Home >> Pontiac >> 2005 >> Aztek Base, AWD >> Repair and Diagnosis (Single Page) >> Quick Lookups >> Wiring Diagrams >> OEM Connector End Views >> Connector End Views >> Object Sensor - LR Middle Connector End View

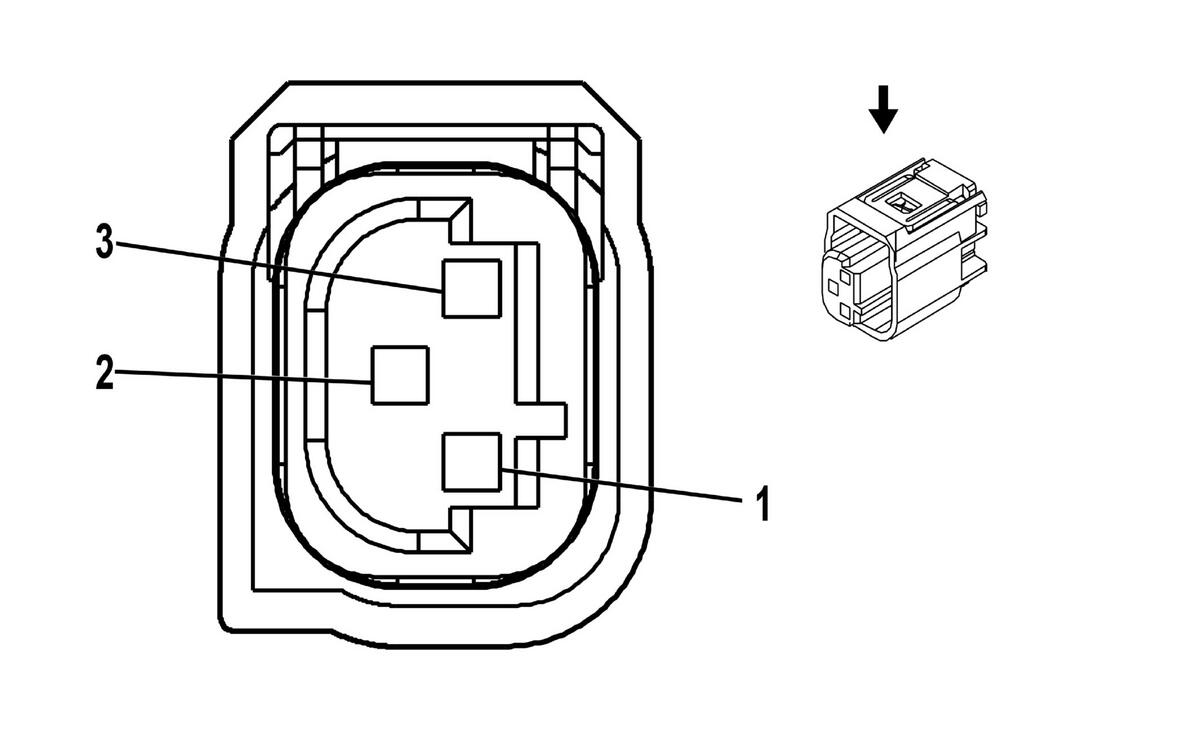
Object Sensor - LR Middle Connector End View

Object Sensor - LR Middle Connector End View

GM655785Courtesy of GENERAL MOTORS CORP.
Connector Part Information
  • 15324398
  • 3-Way F Quadlock Micro-Pack, Sealed (BK)
Pin Wire Color Circuit No. Function
1 OG 2376 LR Middle Object Sensor Signal
2 GY 2379 Object Sensor Low Reference
3 D-BU 2374 Object Sensor Supply Voltage