LEMON Manuals: Even more car manuals for everyone
Home >> Pontiac >> 2005 >> Aztek Base, AWD >> Repair and Diagnosis (Single Page) >> Quick Lookups >> Wiring Diagrams >> OEM Connector End Views >> Connector End Views >> Engine Control Module (3.6L) - Connector End View C1

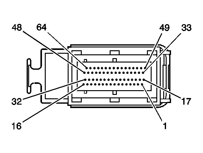
Engine Control Module (3.6L) - Connector End View C1

Engine Control Module (3.6L) - Connector End View C1

GM816165Courtesy of GENERAL MOTORS CORP.
Connector Part Information
  • 1928403379
  • 64-Way F (BK)
Pin Wire Color Circuit No. Function
1 TN 407 Knock Sensor Low Reference Bank 2
2 - - Not Used
3 L-GN 5278 HO2S Input Pump Current Bank 1 Sensor 1
4 OG 5275 Camshaft Position (CMP) Sensor Signal - Intake Bank 1
5 GY 605 5-Volt Reference
6 - - Not Used
7 TN 470 Low Reference
8 PU 486 TP Sensor 2 Signal
9 D-GN/WH 2124 Ignition Control 4
10 WH/BK 5039 Crankshaft Position (CKP) Sensor Signal
11 - - Not Used
12 OG/BK 5272 Camshaft Actuator Solenoid Control - Intake Bank 2
13 L-GN 5282 Camshaft Actuator Solenoid Control - Exhaust Bank 1
14 - - Not Used
15 BN 582 TAC Motor Control - 2
16 GY/WH 3113 HO2S Heater Control Bank 1 Sensor 1
17 GY 1716 Knock Sensor Low Reference Bank 1
18 - - Not Used
19 PU/WH 1665 HO2S Reference Voltage Bank 1 Sensor 1
20 D-GN 5273 Camshaft Position (CMP) Sensor Signal - Exhaust Bank 1
21 GY 23 Generator Field Duty Cycle Signal
22 - - Not Used
23 YE 410 ECT Sensor Signal
24 - - Not Used
25 L-BU/WH 2126 Ignition Control 6
26 OG/WH 2122 Ignition Control 2
27-28 - - Not Used
29 PU 5284 Camshaft Actuator Solenoid Control - Intake Bank 1
30 WH/BK 5283 Camshaft Actuator Solenoid Control - Exhaust Bank 2
31 YE 581 TAC Motor Control - 1
32 - - Not Used
33 D-BU 496 Knock Sensor Signal Bank 1
34 - - Not Used
35 WH 5279 HO2S Pump Current Bank 1 Sensor 1
36 PU 5274 Camshaft Position (CMP) Sensor Signal - Exhaust Bank 2
37 BN 1174 Engine Oil Level Sensor Signal
38 D-GN/WH 357 Engine Oil Temperature Sensor Signal
39 TN 2752 Low Reference
40 TN/BK 231 Engine Oil Pressure Sensor Signal
41 D-GN 2125 Ignition Control 5
42 PU 2121 Ignition Control 1
43 OG 225 Generator Turn On Signal
44 D-BU/BK 5041 Intake Manifold Runner Control (IMRC) Solenoid Control
45 D-BU/BK 844 Fuel Injector 4 Control
46 PK/BK 1746 Fuel Injector 3 Control
47 TN/WH 845 Fuel Injector 5 Control
48 L-GN/WH 428 EVAP Canister Purge Valve Control
49 GY/BK 1798 Engine Ground - Shield
50 L-BU 1876 Knock Sensor Signal Bank 2
51 - - Not Used
52 TN 1664 HO2S Low Reference Bank 1 Sensor 1
53 YE 5276 Camshaft Position (CMP) Sensor Signal - Intake Bank 2
54 GY 2701 5-Volt Reference
55 D-GN 485 TP Sensor 1 Signal
56 OG/BK 5266 BARO Sensor Signal
57 GY 705 5-Volt Reference
58 L-BU 2123 Ignition Control 3
59 PU/WH 5024 CKP Low Reference
60-61 - - Not Used
62 L-GN/BK 1745 Fuel Injector 2 Control
63 TN 1744 Fuel Injector 1 Control
64 YE/BK 846 Fuel Injector 6 Control