LEMON Manuals: Even more car manuals for everyone
Home >> Pontiac >> 2005 >> Aztek Base, AWD >> Repair and Diagnosis (Single Page) >> Quick Lookups >> Wiring Diagrams >> OEM Connector End Views >> Connector End Views >> Electronic Brake Control Module (EBCM) Connector End View

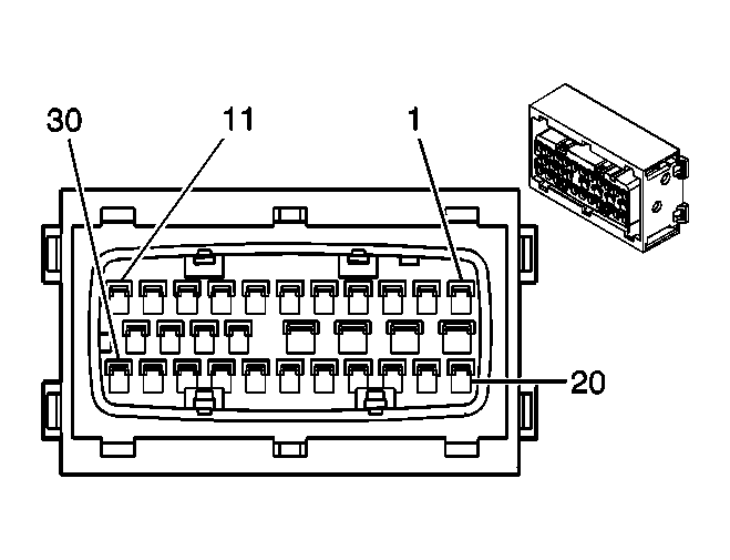
Electronic Brake Control Module (EBCM) Connector End View

Electronic Brake Control Module (EBCM) Connector End View

GM684893Courtesy of GENERAL MOTORS CORP.
Connector Part Information
  • 15326390
  • 30-Way F GT 150 280 Series Sealed 4.0 5.8 (BK)
Pin Wire Color Circuit No. Function
1 - - Not Used
2 BN 882 Right Rear Wheel Speed Sensor Signal
3 WH 883 Right Rear Wheel Speed Sensor Low Reference
4 D-GN 872 Right Front Wheel Speed Sensor Signal
5 TN 833 Right Front Wheel Speed Sensor Low Reference
6 WH 17 Stop Lamp Switch Signal
7 - - Not Used
8 PK 1039 Ignition 1 Voltage
9 TN/BK 464 Delivered Torque Signal (NW9 or M76)
10 - - Not Used
11 WH 121 Engine Speed Signal (NW9 or M76)
12 BK/WH 251 Ground
13 RD 1442 Battery Positive Voltage
14 OG 1740 Battery Positive Voltage
15 BK/WH 251 Ground
16-19 - - Not Used
20 L-BU 830 Left Front Wheel Speed Sensor Signal
21 YE 873 Left Front Wheel Speed Sensor Low Reference
22 BK 884 Left Rear Wheel Speed Sensor Signal
23 RD 885 Left Rear Wheel Speed Sensor Low Reference
24 - - Not Used
25 L-BU 1122 ABS/TCS Class 2 Serial Data
26 - - Not Used
27 OG/BK 463 Requested Torque Signal
28-30 - - Not Used