LEMON Manuals: Even more car manuals for everyone
Home >> Pontiac >> 2005 >> Aztek Base, AWD >> Repair and Diagnosis (Single Page) >> Accessories & Equipment >> Wiper/Washer Systems >> Wiper System & Washer System >> Component Locator >> Wiper/Washer System Connector End Views

Wiper/Washer System Connector End Views

I/P Switch Assembly C1 (Buick)

GM73232Courtesy of GENERAL MOTORS CORP.
Connector Part Information
  • 12041301
  • 8-Way F Metri-Pack 280 (BK)
Pin Wire Color Circuit No. Function
A GY 8 Instrument Panel Lamp Supply Voltage
B BK 1450 Ground
C-E - - Not Used
F GY 391 Rear Window Wiper Switch Signal
G YE 343 Accessory Voltage
H D-GN 392 Rear Window Washer Pump Control
Rear Window Washer Fluid Pump (Buick)

GM646148Courtesy of GENERAL MOTORS CORP.
Connector Part Information
  • 12020599
  • 2-Way F Metri-Pack 280 (BK)
Pin Wire Color Circuit No. Function
A D-GN 392 Rear Window Washer Pump Control
B BK 1650 Ground
Rear Window Wiper Motor (Buick)

GM62432Courtesy of GENERAL MOTORS CORP.
Connector Part Information
  • 12041429
  • 5-Way F Metri-Pack 280 (BK)
Pin Wire Color Circuit No. Function
A BK 1150 Ground
B D-GN 392 Rear Window Washer Pump Control
C - - Not Used
D GY 391 Rear Window Wiper Switch Signal
E YE 343 Accessory Voltage
Windshield Washer Fluid Level Switch

GM646176Courtesy of GENERAL MOTORS CORP.
Connector Part Information
  • 12162195
  • 2-Way F 150.2 (BK)
Pin Wire Color Circuit No. Function
A TN 185 Low Washer Fluid Indicator Signal
B BK 1550 Ground
Windshield Washer Fluid Pump

GM635009Courtesy of GENERAL MOTORS CORP.
Connector Part Information
  • 12052641
  • 2-Way F Metri-Pack 150 (BK)
Pin Wire Color Circuit No. Function
A RD 228 Windshield Washer Pump Control
B BK 1650 Ground
Windshield Wiper Motor

GM684832Courtesy of GENERAL MOTORS CORP.
Connector Part Information
  • 12129126
  • 6-Way F Metri-Pack 150 280 Mixed Sealed (BK)
Pin Wire Color Circuit No. Function
A BK 1650 Ground
B YE 243 Accessory Voltage
C PU 92 Windshield Wiper Motor High Speed
D D-GN 113 Windshield Wiper Switch Signal 2
E GY 112 Windshield Wiper Switch Signal 1
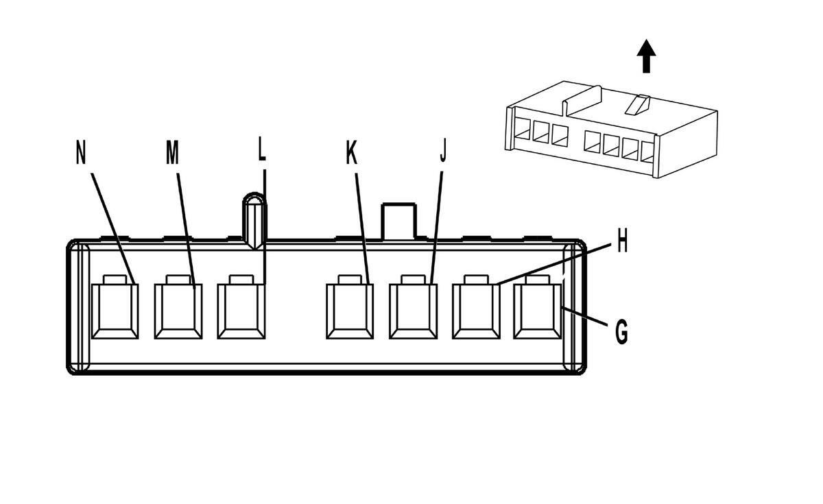
Turn Signal/Multifunction Switch C3 (Windshield Wiper Switch)

GM811190Courtesy of GENERAL MOTORS CORP.
Connector Part Information
  • 15339058
  • 7-Way F Metri-Pack 150 (GY)
Pin Wire Color Circuit No. Function
G-H - - Not Used
J RD 228 Windshield Washer Pump Control
K YE 243 Accessory Voltage
L GY 112 Windshield Wiper Switch Signal 1
M D-GN 113 Windshield Wiper Switch Signal 2
N PU 92 Windshield Wiper Motor High Speed