LEMON Manuals: Even more car manuals for everyone
Home >> Pontiac >> 2005 >> Aztek Base, AWD >> Repair and Diagnosis (Single Page) >> Accessories & Equipment >> Infotainment >> Cellular Communication Systems >> Component Locator >> Cellular Communication Component Views

Cellular Communication Component Views

Fig 1: Passenger Side of I/P Location View
GM1219395Courtesy of GENERAL MOTORS CORP.
Callout Component Name
1 Vehicle Communication Interface Module (VCIM)
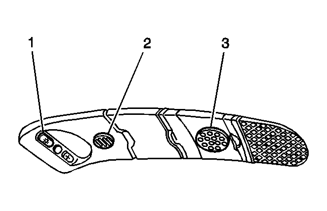
Fig 2: Overhead Console Location View
GM760729Courtesy of GENERAL MOTORS CORP.
Callout Component Name
1 OnStar Button Assembly
2 OnStar Microphone
3 Garage Door Opener