LEMON Manuals: Even more car manuals for everyone
Home >> Pontiac >> 2005 >> Aztek Base, AWD >> Repair and Diagnosis (Single Page) >> Accessories & Equipment >> Communication Devices >> Computer/Integrating Systems >> Component Locator >> Computer/Integrating Systems Connector End Views

Computer/Integrating Systems Connector End Views

Body Control Module - C0

GM73152Courtesy of GENERAL MOTORS CORP.
Connector Part Information
  • 12084945
  • 16-Way F Micro-Pack 100 Series (GY)
Pin Wire Color Circuit No. Function
A1 - - Not Used
A2 PK/BK 1597 Interior Lamp Switch On Signal
A3 YE 10 Headlamp Switch Signal
A4 PU 328 Interior Lamp Defeat Switch Signal
A5 L- GN 80 Key In Ignition Switch Signal
A6 L- BU 13 Headlamp Switch Park Lamps Signal
A7 OG 192 Fog Lamp Switch Signal
A8 - - Not Used
B1 WH/BK 1221 Liftgate Release Switch Signal
B2-B3 - - Not Used
B4 YE 443 Accessory Voltage
B5 PU 1500 Ignition 0 Voltage
B6 - - Not Used
B7 BN/WH 1571 Traction Control Switch Signal
B8 D- GN 389 Vehicle Speed Signal
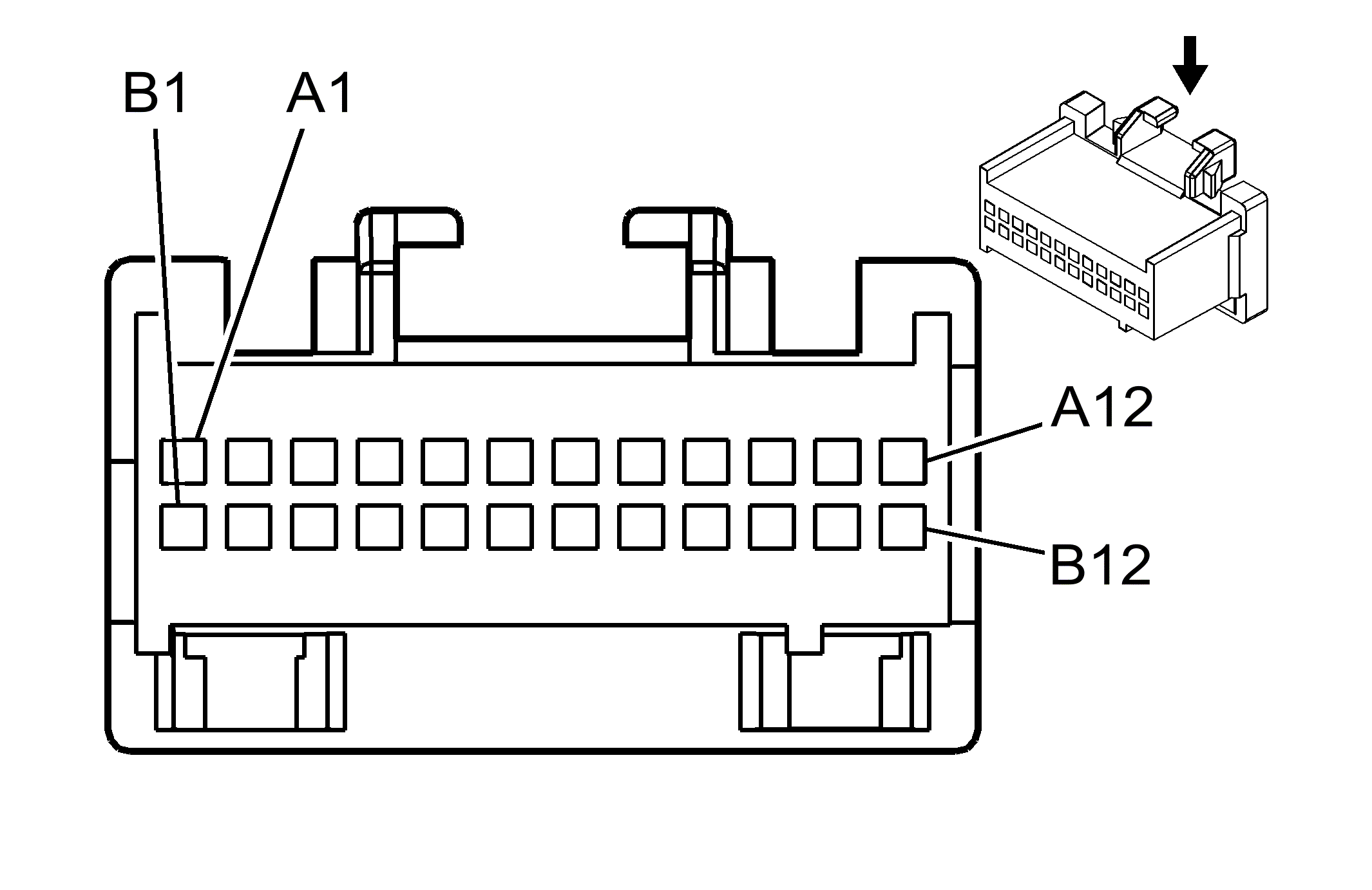
Body Control Module - C1

GM73156Courtesy of GENERAL MOTORS CORP.
Connector Part Information
  • 12110088
  • 24-Way F Micro-Pack 100 Series (GY)
Pin Wire Color Circuit No. Function
A1 BK 1550 Ground
A2-A3 - - Not Used
A4 YE/BK 1138 Ambient Light Sensor Low Reference
A5 PK 1444 5-Volt Reference
A6 L- GN/
BK
1137 Ambient Light Sensor Signal
A7 BN/WH 230 Instrument Panel Lamps Dimming Control
A8 L- GN/
BK
311 High Beam Signal
A9 BK/WH 1455 Keyless Entry Program Enable Signal
A10 L- GN 1037 BCM Class 2 Serial Data
A11 BK 28 Horn Relay Control
A12 L- GN/
BK
592 DRL Relay Control
B1 GY/BK 1796 Low Reference
B2 PK 739 Ignition 1 Voltage
B3 BN 9 Park Lamp Supply Voltage
B4 YE 749 Security Indicator Control (UA6)
B5-B6 - - Not Used
B7 OG 3240 Battery Positive Voltage
B8 L- BU 910 Headlamp Relay Control
B9 D- GN/
WH
762 A/C Request Signal (C60)
B10 - - Not Used
B11 TN/WH 816 A/T Shift Lock Solenoid Control
B12 D- GN/
WH
1317 Fog Lamp Relay Control
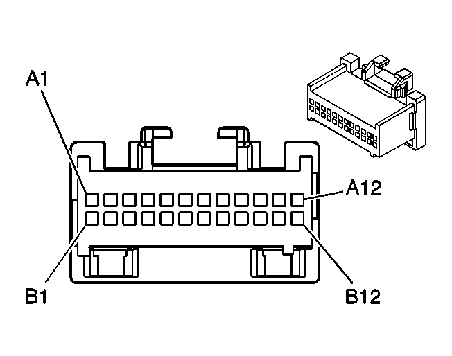
Body Control Module - C2

GM130689Courtesy of GENERAL MOTORS CORP.
Connector Part Information
  • 12110244
  • 24-Way F Micro-Pack 100 Series (PK)
Pin Wire Color Circuit No. Function
A1 OG/BK 233 Park Brake Switch Signal
A2 OG 54 Front Passenger Door Open Switch Signal
A3 D- BU/
WH
727 Door Ajar Switch Signal
A4 PU 1124 Door Lock Key Switch Unlock Signal
A5 PU 9124 Tailgate Key Cylinder Switch Signal (Pontiac)
A6 - - Not Used
A7 D- BU 49 Driver Door Open Switch Signal
A8 RD/BK 744 Trunk Ajar Switch Signal (Pontiac)
L- BU 2380 Rear Parking Assist Chime Signal (Buick)
A9 PK/BK 1303 Endgate Ajar Switch Signal
A10 YE 656 Endgate Open Switch Signal
A11-A12 - - Not Used
B1 PK 775 Rear Door Open Switch Signal
B2 PU 2279 Lift Glass Ajar Switch Signal (Pontiac)
B3 - - Not Used
B4 RD/BK 780 Door Lock/Unlock Switch Signal
B5-B12 - - Not Used
Body Control Module - C3

GM798865Courtesy of GENERAL MOTORS CORP.
Connector Part Information Fuse Block-Center Console to BCM Connector
Pin Wire Color Circuit No. Function
1 - 340 Battery Positive Voltage
2 - 1080 Park Lamp Relay Control
3 - - Not Used
4 - 1524 Backup Relay Control
5 - - Not Used
6 - 2440 Battery Positive Voltage
7 - - Not Used
8 - 383 Trunk Release Control (Pontiac)
9 - 1732 Courtesy Lamps Supply Voltage
10 - 240 Battery Positive Voltage
11 - 8 Instrument Panel Lamp Supply Voltage
12 - 690 Courtesy Lamps Control
13 - 9295 Tailgate Lock Motor Lock Control
14 - 9294 Tailgate Lock Motor Unlock Control
15 - 550 Ground
16 - 294 Door Lock Actuator Unlock Control
17 - 694 Driver Door Lock Actuator Unlock Control
18 - 295 Door Lock Actuator Lock Control
19 - - Not Used
20 - 707 RAP Relay Control
21 - 911 Rear Defog Relay Coil Supply Voltage
22-23 - - Not Used
24 - 150 Ground
Data Link Connector (DLC)

GM68793Courtesy of GENERAL MOTORS CORP.
Connector Part Information
  • 12110250
  • 16-Way F Metri-Pack 150 Series (BK)
Pin Wire Color Circuit No. Function
1 - - Not Used
2 PU 1132 DLC Class 2 Serial Data
3 - - Not Used
4 BK 1450 Ground
5 BK 1550 Ground
6 TN/WH 2500 High Speed GMLAN Serial Data Bus + (LY7)
7-13 - - Not Used
14 TN 2501 High Speed GMLAN Serial Data Bus - (LY7)
15 - - Not Used
16 OG 2740 Battery Positive Voltage