ABS Connector End Views
WARNING: This page is about a different car, the 2005 Pontiac Vibe. However, it is still accessible from the selected car via links, so may be relevant.
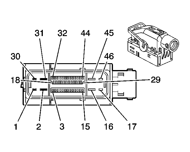
Brake Pressure Modulator Valve (BPMV) (W/O VSC)
| Connector Part Information |
|
|
|---|---|---|
| Pin | Wire Color | Function |
| 1 | WH/BK | Motor Ground |
| 2 | RD | Battery Positive Voltage |
| 3 | - | Not Used |
| 4 | YE | Traction Control Ground Signal |
| 5 | - | Not Used |
| 6 | BU/RD | Park Neutral Position Switch Park Signal |
| 7 | - | Not Used |
| 8 | YE/RD | SIR Serial Data |
| 9 | GY | LH Front Wheel Speed Signal Low |
| 10 | RD | LH Front Wheel Speed Signal High |
| 11-12 | - | Not Used |
| 13 | BU/RD | Serial Data |
| 14 | GN/WH | Brake Switch Input |
| 15 | BK | LH Rear Wheel Speed Signal High |
| 16 | YE | LH Rear Wheel Speed Signal Low |
| 17 | WH/RD | ABS Indicator Control |
| 18 | WH/GN | Vehicle Speed Sensor Control |
| 19 | - | Not Used |
| 20 | GY | SIR Serial Data |
| 21 | PU/BK | Ground |
| 22 | - | Not Used |
| 23 | RD/WH | Daytime Running Lamps Control Module Signal |
| 24-30 | - | Not Used |
| 31 | BU | Battery Positive Voltage |
| 32 | WH/BK | Solenoid Ground |
| 33 | L-GN | Tire Pressure Monitor Instrument Panel input Signal |
| 34 | RD | Tire Pressure Monitor Instrument Panel input Signal |
| 35 | - | Not Used |
| 36 | BU/WH | Park Neutral Position Switch Neutral Signal |
| 37 | YE/BK | Deceleration Sensor Signal |
| 38 | - | Not Used |
| 39 | WH | RH Front Wheel Speed Signal Low |
| 40 | BK | RH Front Wheel Speed Signal High |
| 41 | VT/WH | Tire Pressure Monitoring Switch Signal |
| 42 | - | Not Used |
| 43 | RD | Brake Indicator Control |
| 44 | RD | RH Rear Wheel Speed Signal High |
| 45 | WH | RH Rear Wheel Speed Signal Low |
| 46 | BK/WH | Ignition Positive Voltage |
Brake Pressure Modulator Valve (BPMV) (W/VSC)
| Connector Part Information |
|
|
|---|---|---|
| Pin | Wire Color | Function |
| 1 | BK/WH | Ignition ON Voltage |
| 2 | RD | ABS Cutoff Relay and ABS Motor Relay Supply Voltage |
| 3 | RD | Brake Indicator Control |
| 4 | RD/YE | Traction Control Switch Signal |
| 5 | PK | OBD 2 Serial Data |
| 6 | VT/WH | Tire Pressure Monitor Switch Signal |
| 7 | BU/RD | Park Neutral Position Switch Park Signal |
| 8-10 | - | Not Used |
| 11 | VT | Vehicle Stability Control Indicator |
| 12 | - | Not Used |
| 13 | WH | Slip Indicator Control |
| 14 | - | Not Used |
| 15 | WH/BK | Motor Ground |
| 16 | BK | Battery Positive Voltage |
| 17 | BK/OG | Vehicle Stability Control Audible Warning Signal |
| 18 | WH/RD | ABS Indicator Control |
| 19 | RD/WH | Daytime Running Lamps Input Signal |
| 20 | GN/WH | Brake Switch Input |
| 21 | L-GN | Tire Pressure Monitor Instrument Panel Input Signal |
| 22 | WH | CAN Low |
| 23 | GY | SIR Serial Data |
| 24 | BU | Engine Control Ground Signal |
| 25 | WH | PCM Traction Control Ground Signal |
| 26 | - | Not Used |
| 27 | BK | LH Rear Wheel Speed Sensor Signal High |
| 28 | WH | RH Rear Wheel Speed Sensor Signal Low |
| 29 | RD | LH Front Wheel Speed Sensor Signal High |
| 30 | WH | RH Front Wheel Speed Sensor Signal Low |
| 31 | - | Not Used |
| 32 | BU | ABS Motor Relay Coil Ground |
| 33 | BK | ABS Cutoff Relay Coil Ground |
| 34 | BU/RD | Serial Data |
| 35 | WH/GN | Vehicle Speed Sensor Signal |
| 36 | BK | CAN High |
| 37 | RD/YE | Power Train Module EFI Signal |
| 38 | RD/WH | Power Train Module EFI Signal - Positive |
| 39 | RD/WH | RH Front Wheel Speed Sensor Signal Low |
| 40 | RD | Tire Pressure Monitor Instrument Panel Input Signal |
| 41 | YE | LH Rear Wheel Speed Sensor Signal Low |
| 42 | RD | RH Rear Wheel Speed Sensor Signal High |
| 43 | GN | LH Front Wheel Speed Sensor Signal Low |
| 44 | BK | RH Front Wheel Speed Sensor Signal High |
| 45 | BK/RD | ABS Motor Relay Output |
| 46 | WH/BK | Solenoid Ground |
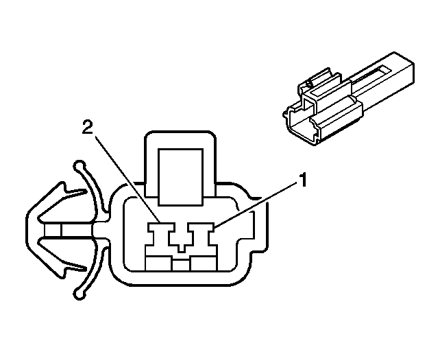
Deceleration Sensor (AWD Only)
| Connector Part Information |
|
|
|---|---|---|
| Pin | Wire Color | Function |
| 1 | WH/BK | Accelerometer Ground Circuit |
| 2 | YE/RD | Brake Pressure Modulator Valve (BPMV) |
| 3 | YE | Brake Pressure Modulator Valve (BPMV) |
| 4 | YE/BK | Brake Pressure Modulator Valve (BPMV) |
| 5 | BK/WH | Accelerometer Feed Circuit |
Left Front Wheel Speed Sensor
| Connector Part Information |
|
|
|---|---|---|
| Pin | Wire Color | Function |
| 1 | GN | Wheel Speed Sensor Low |
| 2 | RD | Wheel Speed Sensor High |
Left Rear Wheel Speed Sensor
| Connector Part Information |
|
|
|---|---|---|
| Pin | Wire Color | Function |
| 1 | YE | Left Rear Wheel Speed Sensor Low |
| 2 | BK | Left Rear Wheel Speed Sensor High |
Right Front Wheel Speed Sensor
| Connector Part Information |
|
|
|---|---|---|
| Pin | Wire Color | Function |
| 1 | WH | Right Front Wheel Speed Sensor Low |
| 2 | BK | Right Front Wheel Speed Sensor High |
Right Rear Wheel Speed Sensor
| Connector Part Information |
|
|
|---|---|---|
| Pin | Wire Color | Function |
| 1 | WH | Right Rear Wheel Speed Signal Low |
| 2 | RD | Right Rear Wheel Speed Signal High |
Steering Wheel Angle Sensor
| Connector Part Information |
|
|
|---|---|---|
| Pin | Wire Color | Function |
| 1 | BK/WH | Ignition Voltage |
| 2 | WH/BK | Ground |
| 3 | RD/BK | Battery Voltage |
| 4-8 | - | Not Used |
| 9 | WH | CAN Low |
| 10 | BK | CAN High |
Traction Control Off Switch
| Connector Part Information |
|
|
|---|---|---|
| Pin | Wire Color | Function |
| 1 | - | Not Used |
| 2 | GN | Switch Illumination Positive |
| 3-5 | - | Not Used |
| 6 | WH/BK | Ground |
| 7 | WH/BK | Switch Illumination Ground |
| 8 | - | Not Used |
| 9 | RD/YE | Traction Control Off Signal |
| 10 | - | Not Used |
Vehicle Stability Control Audible Warning Buzzer
| Connector Part Information |
|
|
|---|---|---|
| Pin | Wire Color | Function |
| 1 | YE/BK | Ignition Voltage |
| 2 | BK/WH | Buzzer Signal |
Yaw Rate Sensor
| Connector Part Information |
|
|
|---|---|---|
| Pin | Wire Color | Function |
| 1 | WH/BK | Ground |
| 2 | WH | CAN Low |
| 3 | BK | CAN High |
| 4 | - | Not Used |
| 5 | BK/WH | Ignition Voltage |