LEMON Manuals: Even more car manuals for everyone
Home >> Pontiac >> 2004 >> Vibe Base, AWD >> Repair and Diagnosis >> Engine Performance >> System >> Engine Control System (Introduction) - 1.8L (LV6) >> Repair Instructions >> Fuel Sender Assembly Replacement (AWD) >> Installation Procedure

Installation Procedure

NOTE: Always re-attach the fuel lines and fuel filter with all original type fasteners and hardware.

Do not repair sections of fuel pipes.

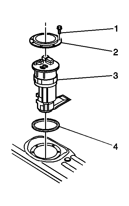
    Fig 1: Hold Down Plate, O-Ring Sealing Surfaces, Fuel Sender Assembly And Bolts (AWD)
    GM828357Courtesy of GENERAL MOTORS CORP.
  1. Position the new fuel sender assembly O-ring (4) on the fuel sender assembly.
  2. Install the fuel sender assembly (3) into the fuel tank.
  3. Install the hold down plate (2) for the fuel sender assembly.
  4. NOTE: Refer to Fastener Notice in Cautions and Notices.
  5. Secure the hold down plate for the fuel sender assembly with the 8 bolts (1).

    Tighten:  Tighten the bolts to 6 N.m (53 lb in).

  6. Fig 2: Fuel Supply Line And Retaining Clip (AWD)
    GM828355Courtesy of GENERAL MOTORS CORP.
  7. Install the fuel pipe (1) to the fuel sender fitting.
  8. Secure the fuel pipe (1) with the retaining clip (2).
  9. Fig 3: (FTP) Sensor And Fuel Sender Electrical Connector (AWD)
    GM828353Courtesy of GENERAL MOTORS CORP.
  10. Connect the fuel sender electrical connector (2) to the fuel sender assembly.
  11. Connect the FTP sensor electrical connector (1) to the fuel sender assembly.
  12. Connect the negative battery cable.
  13. Pressurize the fuel system and check for leaks.
  14. Inspect the butyl caulk seal for the fuel sender access panel. Replace any missing butyl caulk as necessary.
  15. Install the access panel to the rear seat floor.
  16. Relocate the carpet under the seat and the left sill plate area.
  17. Install the sill plate to the left side door opening.
  18. Install the rear seat bottom cushion.
  19. Secure the seat cushion with the two fasteners. Refer to Seat Cushion Replacement - Rear in Seats.