LEMON Manuals: Even more car manuals for everyone
Home >> Pontiac >> 2004 >> Vibe Base, AWD >> Repair and Diagnosis >> Engine Performance >> System >> Engine Control System (Introduction) - 1.8L (LV6) >> Description and Operation >> Air Intake System Description >> Operation

Air Intake System Description: Operation

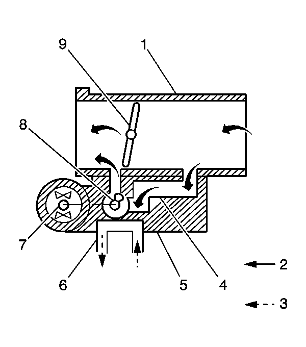
Fig 1: Idle Air Control (IAC) Valve Component View
GM242543Courtesy of GENERAL MOTORS CORP.
Callout Component Name
1 Throttle Body
2 Air
3 Coolant
4 Idle Air (Bypass) Passage
5 IAC Valve
6 Coolant Passage
7 Magnet
8 Rotary Valve
9 Throttle Valve

The PCM uses the IAC valve in order to control the engine idle speed. The PCM communicates with the IAC valve by varying the ON time of a repeating ON/OFF duty cycle. A magnet inside the IAC valve operates a rotary valve that controls the opening of the idle air bypass passage in the throttle body. The idle air passage allows air to enter the engine without passing over the throttle valve. The strength of the magnet in the IAC valve is related to the current flow in the IAC circuit.

The PCM increases the ON time of the IAC valve command in order to increase the idle air passage opening. A larger idle air passage opening allows more air to enter the intake resulting in an increase in engine speed.

The IAC valve contains an engine coolant passage that enables the IAC valve to operate more efficiently at cold temperatures. The IAC valve enables the PCM to easily control engine idle speed by precisely metering the engine's air intake at closed throttle.