LEMON Manuals: Even more car manuals for everyone
Home >> Pontiac >> 2004 >> Sunfire Standard >> Repair and Diagnosis >> Engine Performance >> System >> Engine Controls - 2.2L (L61) Introduction >> Schematic and Routing Diagrams >> Engine Controls Schematics

Engine Controls Schematics

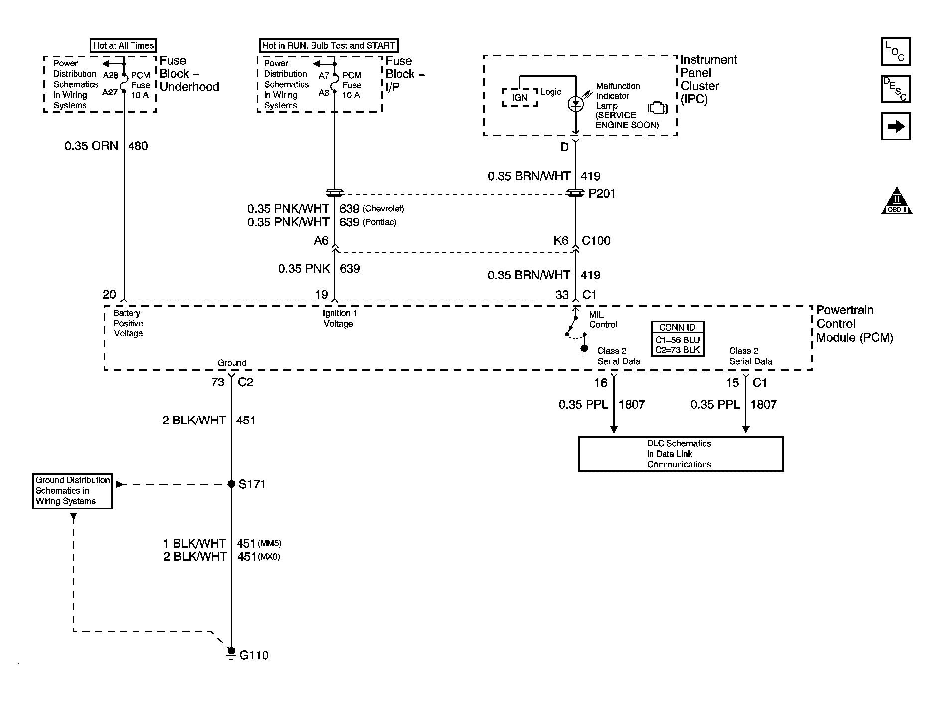
Fig 1: Module Power, Ground, Serial Data & MIL Schematics
GM783401Courtesy of GENERAL MOTORS CORP.
Fig 2: 5-Volt & Low Reference Bussing Schematics
GM788898Courtesy of GENERAL MOTORS CORP.
Fig 3: Engine Data Sensors - Pressure & Temperature Schematics
GM783404Courtesy of GENERAL MOTORS CORP.
Fig 4: Heated Oxygen Sensors Schematics
GM783405Courtesy of GENERAL MOTORS CORP.
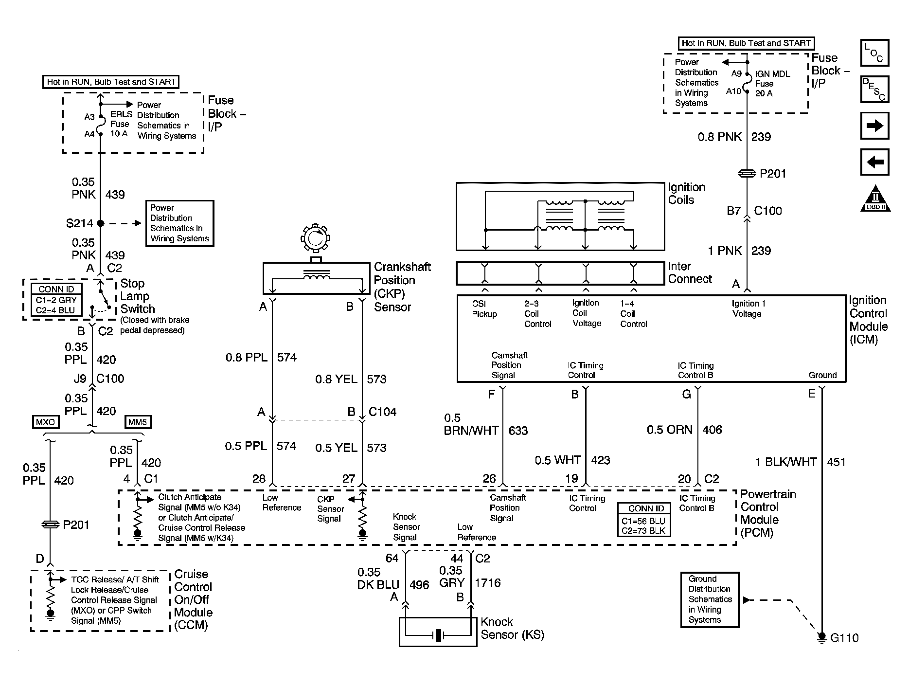
Fig 5: Ignition Controls Schematics
GM783407Courtesy of GENERAL MOTORS CORP.
Fig 6: Fuel Delivery Schematics
GM783409Courtesy of GENERAL MOTORS CORP.
Fig 7: Transmission Controls - A/T Schematics
GM783416Courtesy of GENERAL MOTORS CORP.