LEMON Manuals: Even more car manuals for everyone
Home >> Pontiac >> 2004 >> GTO Standard >> Repair and Diagnosis (Single Page) >> Quick Lookups >> Wiring Diagrams >> OEM Connector End Views >> Connector End Views >> Turn Signal/Multifunction Switch Connector End View

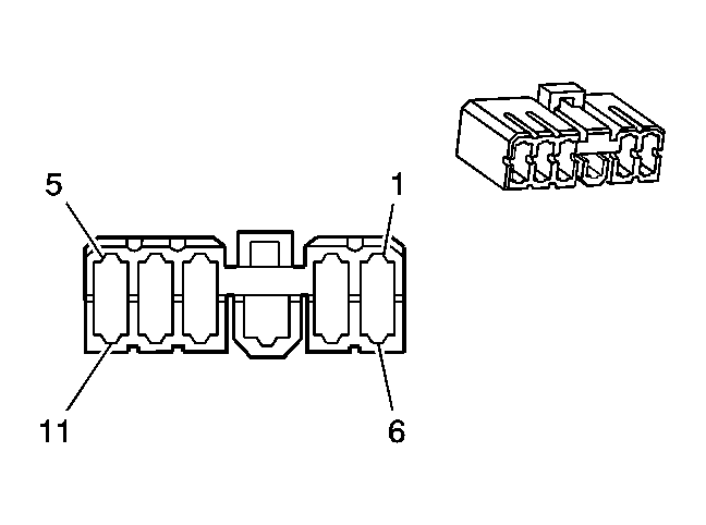
Turn Signal/Multifunction Switch Connector End View

Turn Signal/Multifunction Switch Connector End View

GM1356213Courtesy of GENERAL MOTORS CORP.
Connector Part Information
  • 7119-3111
  • 11-Way Mixed (WH)
Pin Wire Color Circuit No. Function
1 BU/YE 1969 Headlamps Relay Control
2 - - Not Used
3 WH/BK 10 Headlamps Supply Voltage
4 BK/GN 151 Ground
5 - - Not Used
6 L-BU 1314 Left Front Turn Signal Lamp Supply Voltage
7 - - Not Used
8 BK/GN 151 Ground
9 PU 27 Hazard Signal
10 BU 1315 Right Front Turn Signal Lamp Supply Voltage
11 - - Not Used