LEMON Manuals: Even more car manuals for everyone
Home >> Pontiac >> 2004 >> GTO Standard >> Repair and Diagnosis (Single Page) >> Engine Performance >> System >> Engine Controls -- 5.7L -- (Introduction) >> Repair Instructions >> Powertrain Control Module (PCM) Replacement >> Installation Procedure

Installation Procedure

    NOTE: Do not touch the connector pins or soldered components on the circuit board in order to prevent possible electrostatic discharge (ESD) damage to the PCM.
    NOTE: In order to prevent internal damage to the PCM, the ignition must be OFF when disconnecting or reconnecting the PCM connector.
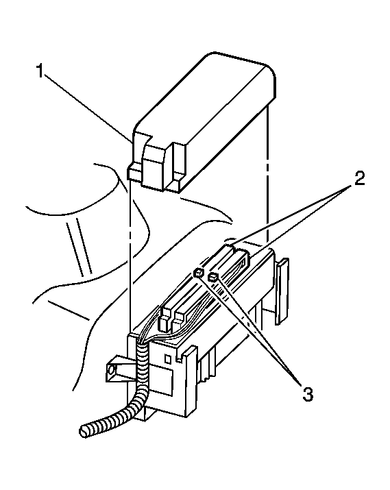
    Fig 1: View Of PCM
    GM1372107Courtesy of GENERAL MOTORS CORP.
  1. Install the PCM (1) to the mounting bracket.
  2. Fig 2: View Of PCM Harness Connector & Cover
    GM1372110Courtesy of GENERAL MOTORS CORP.
    NOTE: Refer to Fastener Notice in Cautions and Notices.
  3. Connect the PCM connectors (2).

    Tighten:  Tighten the PCM connector end fasteners to 9 N.m (80 lb in).

  4. Install the air cleaner assembly. Refer to Air Cleaner Assembly Replacement .
  5. Connect the engine coolant surge tank. Refer to Surge Tank Replacement in Engine Cooling.
  6. Connect the negative battery cable. Refer to Battery Negative Cable Disconnect/Connect Procedure in Engine Electrical.
  7. If a new PCM is being installed, program the PCM. Refer to Service Programming System (SPS) in Programming.
  8. When ever the PCM or the negative battery cables have been disconnected, the Idle Learn procedure must be performed. Refer to Idle Learn Procedure , and the Crankshaft Variation procedure must be performed. Refer to CKP System Variation Learn Procedure .