LEMON Manuals: Even more car manuals for everyone
Home >> Pontiac >> 2004 >> GTO Standard >> Repair and Diagnosis (Single Page) >> Engine Performance >> System >> Engine Controls -- 5.7L -- (Introduction) >> Repair Instructions >> Accelerator Controls Pedal Replacement >> Notes

Accelerator Controls Pedal Replacement: Notes

  1. Remove the two fuel rail covers.
  2. Fig 1: Exploded View Of Throttle Relaxer
    GM1360223Courtesy of GENERAL MOTORS CORP.
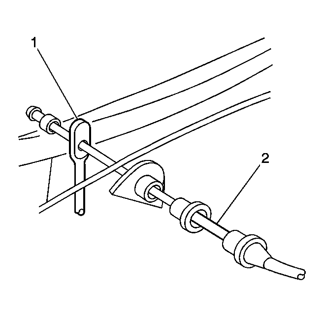
  3. Remove the throttle relaxer cover (1).
  4. Remove the cruise control cable (2).
  5. Remove the accelerator pedal cable (3).
  6. Remove the retainer clip at the theft deterrent horn bracket.
  7. Remove the left instrument panel lower trim. Refer to Closeout/Insulator Panel Replacement - Left in Instrument Panel Gages, and Console.
  8. Fig 2: View Of Accelerator Pedal Lever & Cable
    GM1372156Courtesy of GENERAL MOTORS CORP.
  9. Disconnect the accelerator pedal cable (2) from the accelerator pedal lever (1), inside the vehicle
  10. After releasing the accelerator pedal cable from the slot in the accelerator pedal lever (1), pull the cable through the dash panel from the engine side.
  11. Remove the accelerator cable from the vehicle.