LEMON Manuals: Even more car manuals for everyone
Home >> Pontiac >> 2004 >> GTO Standard >> Repair and Diagnosis (Single Page) >> Body & Frame >> Door Locks >> Keyless Entry System >> Component Locator >> Keyless Entry Connector End Views

Keyless Entry Connector End Views

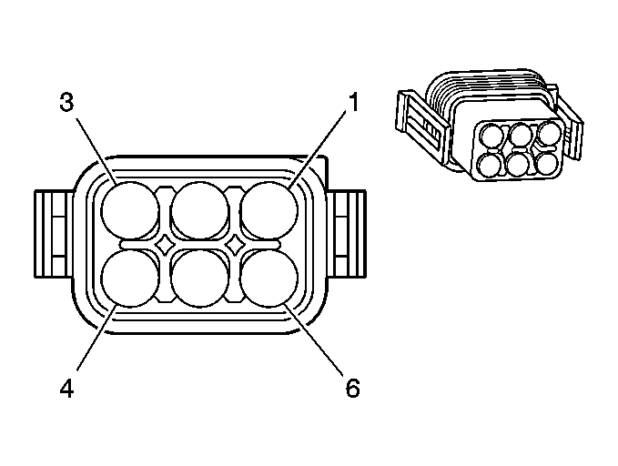
Door Lock Actuator - Driver Connector End View

GM1356360Courtesy of GENERAL MOTORS CORP.
Connector Part Information
  • 9229-6306-41
  • 6-Way Female (GY)
Pin Wire Color Circuit No. Function
1 PU/WH 5171 Dead Lock Actuator Lock Control
2 BU/BK 694 Driver Door Lock Actuator Unlock Control
3 L-GN/YE 781 Driver Door Lock Switch Unlock Signal
4 BN/RD 195 Door Lock Control
5 BK/BU 650 Ground
6 BK/YE 295 Door Lock Actuator Lock Control
Door Lock Actuator - Passenger Connector End View

GM1356360Courtesy of GENERAL MOTORS CORP.
Connector Part Information
  • 9229-6306-41
  • 6-Way Female (GY)
Pin Wire Color Circuit No. Function
1 PU/WH 5171 Dead Lock Actuator Lock Control
2 BK/RD 294 Door Lock Actuator Unlock Control
3 BN/OG 194 Door Unlock Control
4 BN/RD 195 Door Lock Control
5 BK/BU 650 Ground
6 BK/YE 295 Door Lock Actuator Lock Control
Door Lock Switch Connector End View

GM1356232Courtesy of GENERAL MOTORS CORP.
Connector Part Information
  • 9129-2087-30
  • 3-Way Female (BK)
Pin Wire Color Circuit No. Function
1 BK/BU 650 Ground
2 L-GN/YE 781 Driver Door Lock Switch Unlock Signal
3 BN/WH 780 Driver Door Lock Switch Lock Signal
Horn Connector End View

GM1356102Courtesy of GENERAL MOTORS CORP.
Connector Part Information
  • 7283-5146-30
  • 2-Way Female (BK)
Pin Wire Color Circuit No. Function
A GN 1149 Horn Control
B BK/RD 450 Ground
Remote Key Receiver Connector End View

GM1356099Courtesy of GENERAL MOTORS CORP.
Connector Part Information
  • 7123-1287
  • 8-Way Female (WH)
Pin Wire Color Circuit No. Function
1 - - Not Used
2 YE 218 Keyless Entry Antenna Signal
3 - - Not Used
4 YE/BK 1784 Twilight Sentinel Enable Signal
5 - - Not Used
6 OG/BK 740 Battery Positive Voltage
7 BN/GN 219 Keyless Entry Antenna Low Reference
8 - - Not Used