Body Control System Connector End Views
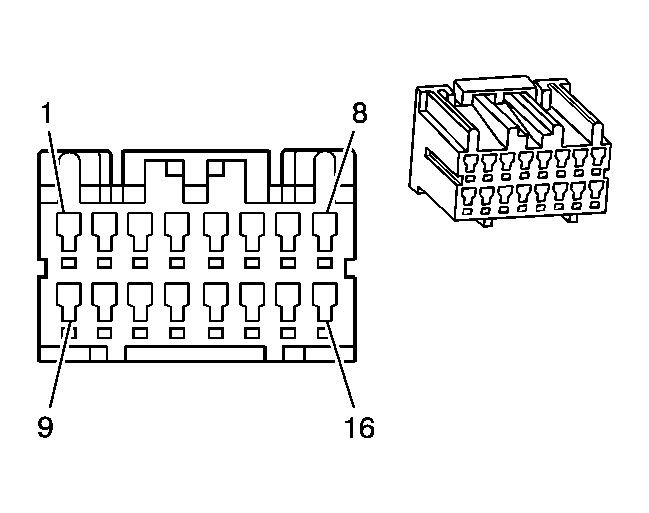
Body Control Module (BCM) C1 Connector End View
| Connector Part Information |
|
||
|---|---|---|---|
| Pin | Wire Color | Circuit No. | Function |
| 1 | YE | 196 | Windshield Wiper Motor Park Switch Signal |
| 2 | BN/WH | 243 | Accessory Voltage |
| 3 | BU | 1315 | Right Front Turn Signal Lamp Supply Voltage |
| 4 | L-BU | 1314 | Left Front Turn Signal Lamp Supply Voltage |
| 5 | GY | 230 | Instrument Panel Lamps Dimming Control |
| 6 | WH/RD | 103 | Headlamp Switch Headlamp On Signal |
| 7 | - | - | Not Used |
| 8 | YE | 1351 | Ground |
| 9 | BN/BK | 755 | RAP Relay Coil Control |
| 10 | OG/BK | 740 | Battery Positive Voltage |
| 11 | BK/GN | 151 | Ground |
| 12 | GN | 96 | Windshield Wiper Switch Pulse Delay Signal |
| 13 | OG/RD | 140 | Battery Positive Voltage |
| 14 | BN/GN | 219 | Keyless Entry Antenna Low Reference |
| 15 | OG/BK | 335 | Low Speed Cooling Fan Relay Control |
| 16 | WH | 1393 | Courtesy Lamps Supply Voltage |
| 17 | BK/YE | 28 | Horn Relay Control |
| 18 | BK/RD | 681 | Secondary Rear Defog Switch Signal |
| 19 | RD/BK | 762 | A/C Request Signal |
| 20 | BK/YE | 251 | Ground |
| 21 | L-BU | 264 | Security Indicator Lamp Supply Voltage |
| 22 | OG/PU | 440 | Battery Positive Voltage |
Body Control Module (BCM) C2 Connector End View
| Connector Part Information |
|
||
|---|---|---|---|
| Pin | Wire Color | Circuit No. | Function |
| 1 | YE | 218 | Keyless Entry Antenna Signal |
| 2 | YE/BK | 1784 | Twilight Sentinel Enable Signal |
| 3 | WH | 44 | Instrument Panel Lamps Dimmer Switch Signal |
| 4 | GY/BK | 477 | Windshield Wiper Switch Signal 1 |
| 5 | RD/BK | 800 | UART Serial Data (Primary) |
| 6 | WH/GN | 774 | UART Serial Data (Tertiary) |
| 7 | PU/RD | 1073 | Ignition Key Resistor Signal |
| 8 | - | - | Not Used |
| 9 | GN/WH | 1061 | UART Serial Data (Secondary) |
| 10 | BK | 306 | Headlamp Switch Headlamps Off Signal |
| 11 | RD/WH | 109 | Hood Ajar Switch Signal |
| 12 | OG | 292 | Rear Defog Switch Signal |
Body Control Module (BCM) C3 Connector End View
| Connector Part Information |
|
||
|---|---|---|---|
| Pin | Wire Color | Circuit No. | Function |
| 1 | BK/GN | 150 | Ground |
| 2 | OG | 300 | Ignition 3 Voltage |
| 3 | BU/WH | 112 | Windshield Wiper Switch Signal 1 |
| 4 | BN/WH | 4 | Accessory Voltage |
| 5 | RD/WH | 66 | A/C Request Signal |
| 6-7 | - | - | Not Used |
| 8 | BK/RD | 1576 | Rear Compartment Lid Release Switch Signal |
| 9 | GN | 63 | Blower Motor Medium 1 Control |
| 10 | YE/RD | 314 | Radio On Signal |
| 11 | YE/BU | 263 | Tamper Switch Signal |
| 12 | - | - | Not Used |
| 13 | L-BU | 228 | Windshield Washer Pump Control |
| 14 | - | - | Not Used |
| 15 | GN | 1149 | Content Theft Horn Control |
| 16 | BN | 111 | Hazard Switch Signal |
Body Control Module (BCM) C4 Connector End View
| Connector Part Information |
|
||
|---|---|---|---|
| Pin | Wire Color | Circuit No. | Function |
| 1 | BK/RD | 294 | Door Lock Actuator Unlock Control |
| 2 | RD/GN | 56 | Rear Compartment Lid Release Control |
| 3 | YE/BU | 328 | Interior Lamp Switch Signal |
| 4 | WH | 745 | Left Front Door Ajar Switch Signal |
| 5 | BN/OG | 194 | Door Unlock Control |
| 6 | YE/GN | 744 | Rear Compartment Lid Ajar Switch Signal |
| 7 | - | - | Not Used |
| 8 | BU/BK | 694 | Driver Door Lock Actuator Unlock Control |
| 9 | PU | 5171 | Dead Lock Actuator Lock Control |
| 10 | BK/YE | 295 | Door Lock Actuator Lock Control |
| 11 | OG/YE | 638 | Power Window Motor Driver Down Control |
| 12 | GN/BK | 167 | Power Window Right Front Down Control |
| 13 | GN/OG | 667 | Power Window Motor Right Front Down Control |
| 14 | BU/WH | 666 | Power Window Motor Right Front Up Control |
| 15 | GN | 164 | Power Window Motor Left Front Up Control |
| 16 | L-GN/YE | 781 | Driver Door Lock Switch Unlock Signal |
| 17 | BN/WH | 780 | Driver Door Lock Switch Lock Signal |
| 18 | - | - | Not Used |
| 19 | GY/WH | 746 | Right Front Door Ajar Switch Signal |
| 20 | BN/RD | 195 | Door Lock Control |
| 21 | PU | 157 | Courtesy Lamp Control |
| 22 | WH/GN | 660 | Left Courtesy Lamp Control |
| 23-24 | - | - | Not Used |
| 25 | YE | 165 | Power Window Motor Left Front Down Control |
| 26 | BU | 1136 | Power Window Master Switch Left Front Down Signal |