LEMON Manuals: Even more car manuals for everyone
Home >> Pontiac >> 2004 >> Aztek Base, AWD >> Repair and Diagnosis >> External Pages >> Different car >> Section 42 (Engine Controls - 3.6L (Ly7) (Introduction)) >> Component Locator >> Engine Controls Component Views

Engine Controls Component Views

WARNING: This page is about a different car, the 2004 Buick Rendezvous. However, it is still accessible from the selected car via links, so may be relevant.
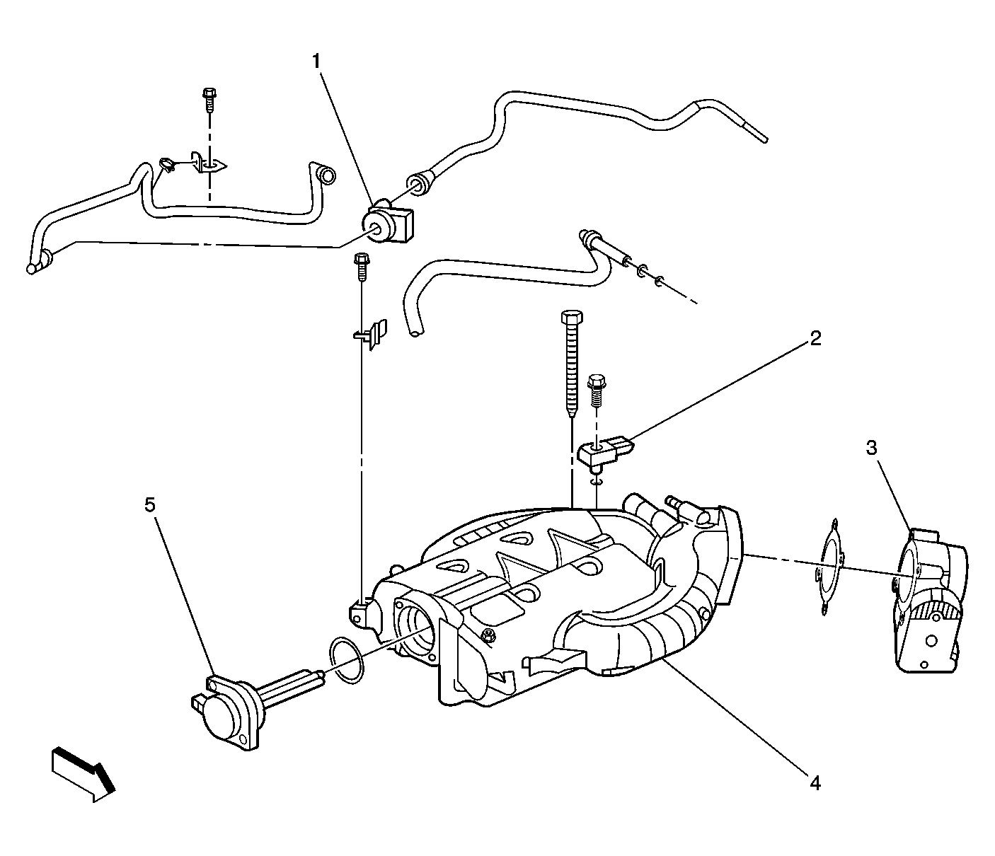
Fig 1: Upper Intake Manifold Component View
GM1397585Courtesy of GENERAL MOTORS CORP.
Callout Component Name
1 EVAP Purge Solenoid
2 BARO Sensor
3 Throttle Body Assembly
4 Upper Intake Manifold
5 Intake Manifold Runner Control (IMRC) Valve
Fig 2: Engine Components - Bank 1 Component View
GM1397616Courtesy of GENERAL MOTORS CORP.
Callout Component Name
1 Cylinder 5 Ignition Coil
2 Cylinder 3 Ignition Coil
3 Cylinder 1 Ignition Coil
4 Knock Sensor (KS) - Bank 1
5 Crankshaft Position Sensor (CKP) Sensor
6 Engine Block Heater Assembly
Fig 3: Engine Components - Bank 2 Component View
GM1397638Courtesy of GENERAL MOTORS CORP.
Callout Component Name
1 Cylinder 2 Ignition Coil
2 Cylinder 4 Ignition Coil
3 Cylinder 6 Ignition Coil
4 Engine Coolant Temperature (ECT) Sensor
5 Knock Sensor - Bank 2
6 Engine Oil level/Temperature Sensor
7 Engine Oil Pressure (EOP) Sensor
Fig 4: Camshaft Position (CMP) Sensors and Camshaft Actuator Solenoids Component View
GM868189Courtesy of GENERAL MOTORS CORP.
Callout Component Name
1 Camshaft Position (CMP) Sensor - Bank 1 Exhaust
2 Camshaft Actuator Solenoid - Bank 1 Exhaust
3 Camshaft Actuator Solenoid - Bank 1 Intake
4 Camshaft Position (CMP) Sensor - Bank 1 Intake
5 Camshaft Position (CMP) Sensor - Bank 2 Intake
6 Camshaft Actuator Solenoid - Bank 2 Intake
7 Camshaft Actuator Solenoid - Bank 2 Exhaust
8 Camshaft Position (CMP) Sensor - Bank 2 Exhaust
Fig 5: Engine Control Module (ECM) Component View
GM1398066Courtesy of GENERAL MOTORS CORP.
Callout Component Name
1 Electronic Control Module (ECM) C1
2 Electronic Control Module (ECM)
3 Electronic Control Module (ECM) C2
Fig 6: Accelerator Pedal Position (APP) Sensor Component View
GM1397661Courtesy of GENERAL MOTORS CORP.
Callout Component Name
1 Accelerator Pedal Position (APP) Sensor
2 Accelerator Pedal
Fig 7: Fuel Tank Component View
GM761614Courtesy of GENERAL MOTORS CORP.
Callout Component Name
1 Fuel Pump and Sender Assembly
2 Fuel Pump
3 Canister Vent Solenoid
4 EVAP Canister
5 Fuel Level Sender