LEMON Manuals: Even more car manuals for everyone
Home >> Pontiac >> 2003 >> Vibe Base, AWD >> Repair and Diagnosis >> Engine Performance >> System >> Engine Control System - System & Component Testing >> Fuel Systems >> Fuel Injector Coil Test - Engine Coolant Temperature Between 50-95°F (10-35°C) >> Test Description

Test Description

The numbers below refer to the step numbers on the diagnostic procedures.

  1. 2

    The Engine Coolant Temperature (ECT) affects the ability of the fuel injector tester to detect a faulty fuel injector. Therefore the test results are only valid when the engine coolant temperature is 50-95°F (10-35°C).
  2. 3

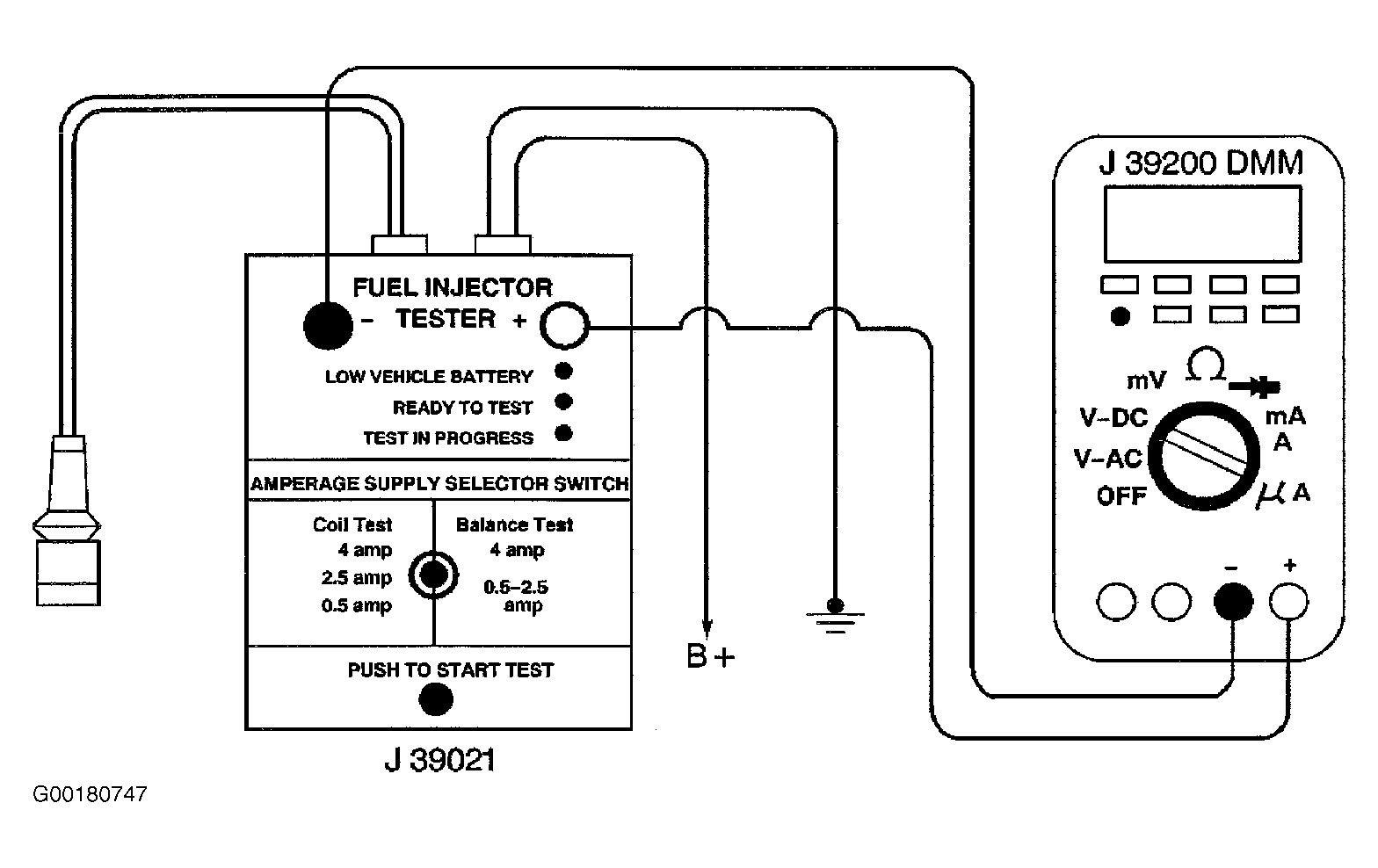
    The first second of the voltage displayed by the DMM may be inaccurate due to the initial current surge, therefore, record the lowest voltage displayed by the DMM after the first second of the test. The voltage displayed by the DMM should be within the specified range. See Fig 1 for an example. The voltage displayed by the DMM may increase throughout the test as the fuel injector windings warm and the resistance of the fuel injector windings changes. An erratic voltage reading, or large fluctuations in voltage that do not stabilize, indicates an intermittent connection within the fuel injector.
Fig 1: Injector Coil Test Specification (Example)
G00180748Courtesy of GENERAL MOTORS CORP.
Fig 2: Fuel Injector Coil Test Using Tester & DMM
G00180747Courtesy of GENERAL MOTORS CORP.