LEMON Manuals: Even more car manuals for everyone
Home >> Pontiac >> 2003 >> Aztek AWD >> Repair and Diagnosis (Single Page) >> Transmission >> Transfer Case >> Transfer Case - STEYR (Unit Repair) >> Description and Operation >> Notes

Description and Operation: Notes

Fig 1: Propeller Shaft & Rear Differential Assembly
G01365677Courtesy of GENERAL MOTORS CORP.

The vehicle is powered by the LA1 3400 V 6 engine, VIN E. Motion/power is transferred from the engine crankshaft/flywheel through the 4T65-E automatic transaxle. A three gear transfer case (1), mated to the right side of the transaxle assembly, transfers torque/power to the rear differential (5) via a propeller shaft assembly (3). The front-to-rear gear ratio is 1.013 to 1.

Fig 2: Transfer Case Assembly
G01365678Courtesy of GENERAL MOTORS CORP.

The transfer case assembly consists of a four-piece aluminum housing, an input helical gear assembly, carrier (1), an idler helical gear (2), and a hypoid bevel gear set which consists of two shaft assemblies supported by tapered roller bearings (4). The design of this component changes power output from transverse to longitudinal and also positions the propeller shaft assembly near the centerline of the vehicle. The propeller shaft assembly, mated to the output flange of the transfer case, is constantly rotating and spins at a rate equal to an average of the two front wheels.

The transfer case is mated to the right side of the 4T65-E automatic transmission. Two types of lubricant are used within the transfer case: automatic transmission fluid for the three helical gear set and a unique hypoid gear oil for the bevel gears. Two oil seals, internal to the case (3) separate the two types of fluid.

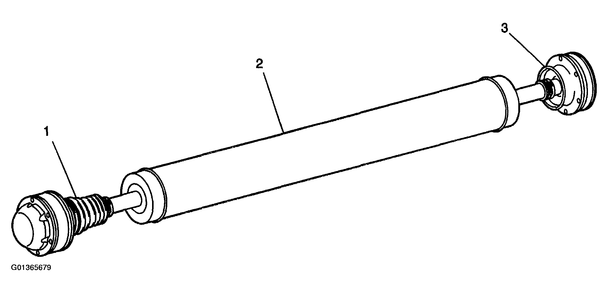
Fig 3: Propeller Shaft Assembly
G01365679Courtesy of GENERAL MOTORS CORP.

The propeller shaft assembly consists of a one-piece aluminum tube (2) and front and rear constant velocity type joints (1 and 3). The rear constant velocity joint (1) is a plunging type design and will plunge forward and rearward as required. Dust boots, at each joint, contain the joint lubricating grease and protect the components from dirt and debris. The propeller shaft assembly is retained to the transfer case output flange and the rear differential input flange by retaining bolts.