LEMON Manuals: Even more car manuals for everyone
Home >> Pontiac >> 2003 >> Aztek AWD >> Repair and Diagnosis (Single Page) >> Quick Lookups >> Wiring Diagrams >> OEM Connector End Views >> Connector End Views >> Driver-Side Air Bag Module Connector End View

Driver-Side Air Bag Module Connector End View

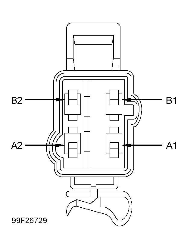
Fig 1: Driver-Side Air Bag Module
G99F26729Courtesy of GENERAL MOTORS CORP.


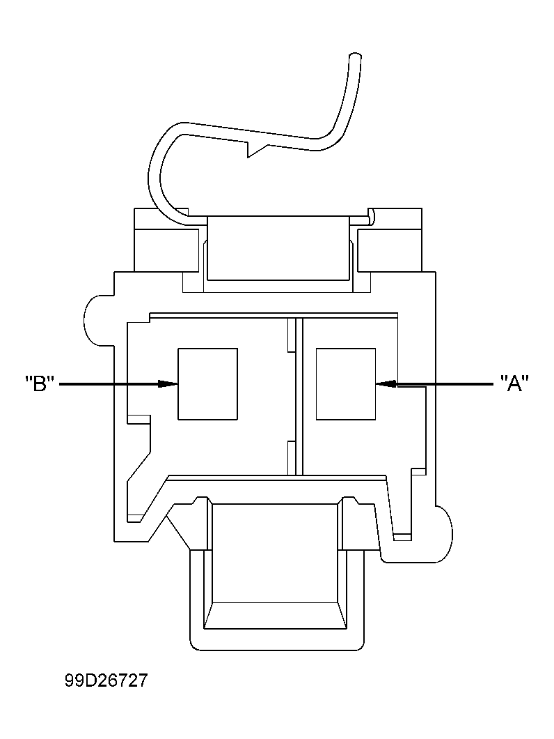
Fig 1: Driver-Side Air Bag Module
G99D26727Courtesy of GENERAL MOTORS CORP.