LEMON Manuals: Even more car manuals for everyone
Home >> Pontiac >> 2001 >> Aztek Base, AWD >> Repair and Diagnosis >> External Pages >> Different car >> Section 269 (Body Control Modules) >> Removal & Installation >> Theft Deterrent Control (TDC) Module >> Removal & Installation

Removal & Installation

WARNING: This page is about a different car, the 2002 Oldsmobile Aurora. However, it is still accessible from the selected car via links, so may be relevant.

Remove driver hush panel. Move bottom of module toward brake pedal first and then slide down from bracket to remove. To install, reverse removal procedure.

  1. Lower tilt steering column to lowest position. Using small flat-bladed tool, pry out ignition switch cylinder bezel. Remove driver and passenger side outer trim cover. Remove instrument panel center trim panel. Remove driver side knee bolster. Remove passenger side instrument panel accessory panel. Remove instrument panel air outlet deflectors. See TRIM PANELS under REMOVAL & INSTALLATION in INSTRUMENT PANELS - AURORA article.
  2. Remove fasteners retaining trim plate to IP cluster. Disconnect electrical connectors and remove IP cluster trim plate from vehicle.
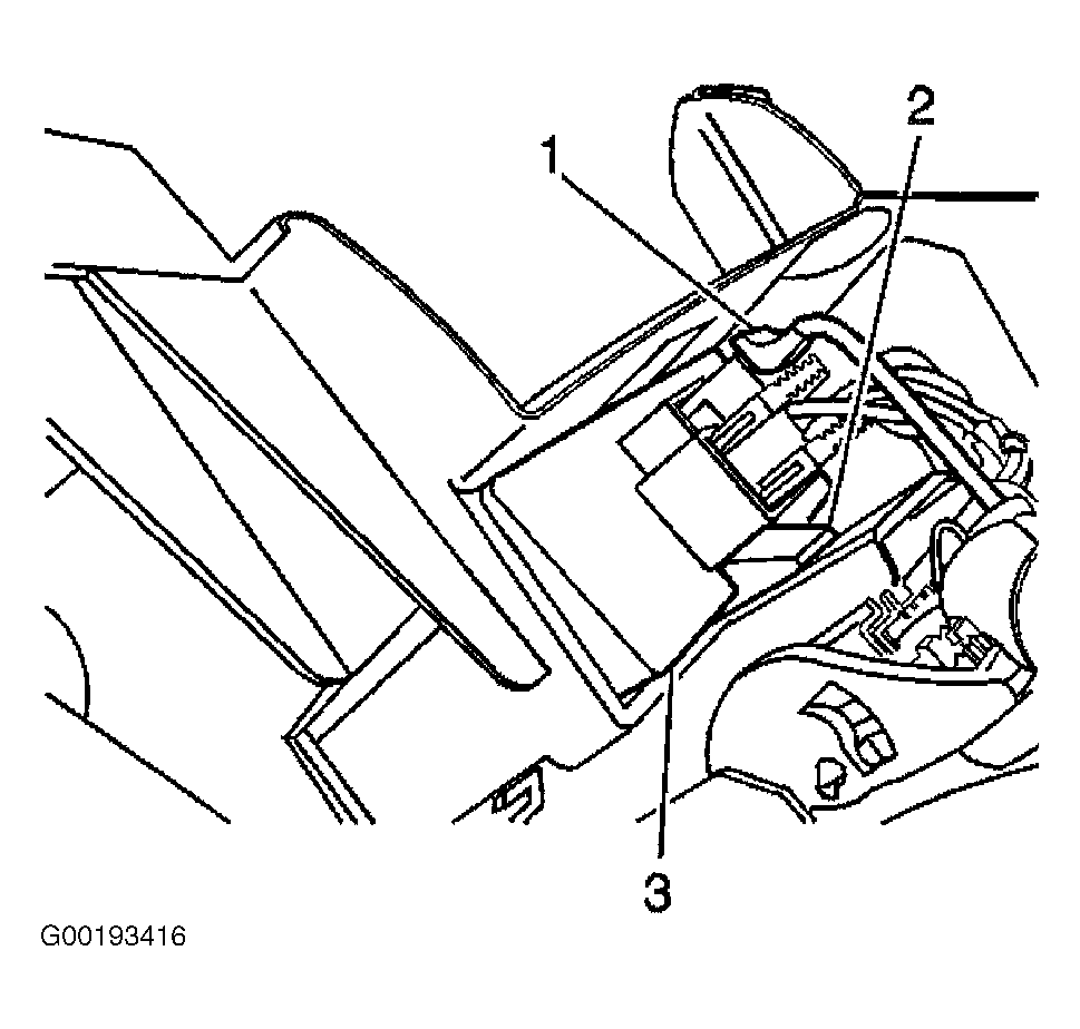
  3. Disconnect Theft Deterrent Control (TDC) module harness connector (1). Release retainer clip (2) securing TDC module (3). See Fig 1.
  4. Slide TDC module upward out of instrument panel retainer to remove. See Fig 2.
  5. To install, reverse removal procedure. Program replacement TDC module. See THEFT DETERRENT MODULE .
Fig 1: Disconnecting TDC Module Harness Connector
G00193416Courtesy of GENERAL MOTORS CORP.
Fig 2: Removing TDC Module
G00193417Courtesy of GENERAL MOTORS CORP.