LEMON Manuals: Even more car manuals for everyone
Home >> Pontiac >> 2001 >> Aztek Base, AWD >> Repair and Diagnosis >> External Pages >> Different car >> Section 1370 (Keyless Entry System) >> Schematic and Routing Diagrams >> Keyless Entry Schematics

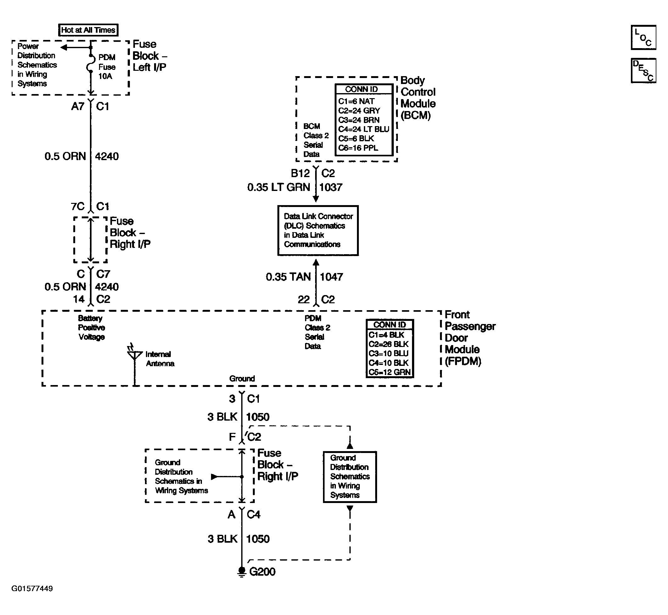
Keyless Entry Schematics

WARNING: This page is about a different car, the 2003 GMC Sierra, 2003 GMC Cab & Chassis Sierra, 2003 Chevrolet Silverado, and 2003 Chevrolet Cab & Chassis Silverado. However, it is still accessible from the selected car via links, so may be relevant.
Fig 1: Keyless Entry Schematic
G01577449Courtesy of GENERAL MOTORS CORP.