LEMON Manuals: Even more car manuals for everyone
Home >> Pontiac >> 1996 >> Trans Sport >> Repair and Diagnosis >> Engine Performance >> System >> Engine Control System - System/Component Tests >> Miscellaneous Pcm/VCM Controls >> Transmission (C-8) >> Converter Lock-Up Signal At Transmission

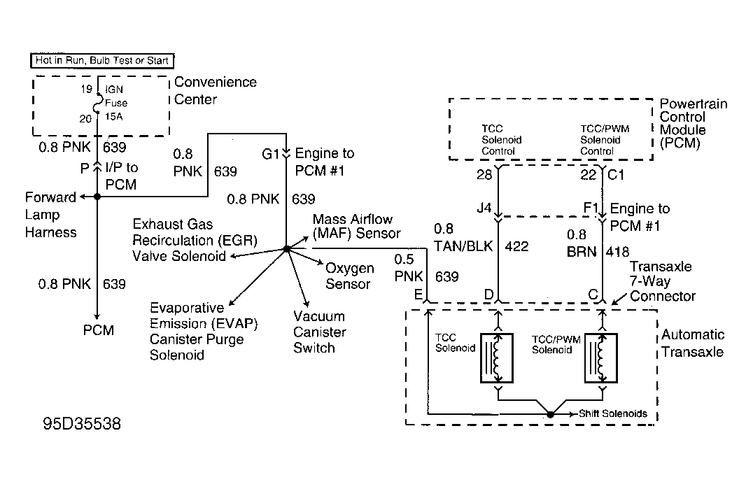
Converter Lock-Up Signal At Transmission

  1. Warm engine to operating temperature. Raise vehicle and support drive wheels. Support suspension where necessary to prevent damage to drive axles.
  2. Disconnect converter clutch connector at transmission. Connect a test light across converter clutch harness terminals. See Figure . Start engine and place transmission in Drive. Accelerate vehicle to 45 MPH and note test light.
  3. If test light is not on, check solenoid power supply wire of harness for open or short to ground. Check ground circuit for open between harness connector and PCM/VCM. If harness is okay, see CONVERTER LOCK-UP SIGNAL FROM PCM/VCM.