LEMON Manuals: Even more car manuals for everyone
Home >> Pontiac >> 1991 >> LeMans Base >> Repair and Diagnosis >> Engine Performance >> System >> Engine Controls - Tests W/Codes >> Diagnostic Code Charts >> Code 13, Open Oxygen Sensor Circuit >> Diagnostic Aids

Diagnostic Aids

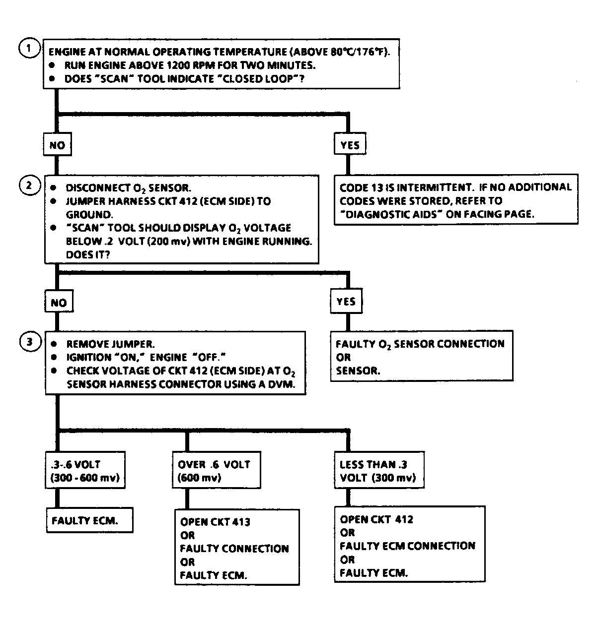
Normal Scan voltage varies between .1-1.0 volt while in closed loop. Code 13 will set in one minute if voltage remains between .35-.55 volt. The system will go into open loop after about 15 seconds.

Verify a clean, tight ground connection for circuit No. 413. Open in circuits No. 412 or No. 413 will result in a Code 13.

If Code 13 is intermittent, see INTERMITTENTS in TESTS W/O CODES article in this section.

Fig 1: Code 13 Flow Chart, Open O2 Sensor Circuit
G91D06621Courtesy of GENERAL MOTORS CORP.
Fig 2: Code 13 Schematic, Open O2 Sensor Circuit
G91B06620Courtesy of GENERAL MOTORS CORP.