LEMON Manuals: Even more car manuals for everyone
Home >> Pontiac >> 1990 >> LeMans Base >> Repair and Diagnosis >> Engine Performance >> System >> Engine Controls - System/Component Tests >> Miscellaneous Controls >> Transmission >> Shift Light (Manual Transmissions)

Shift Light (Manual Transmissions)

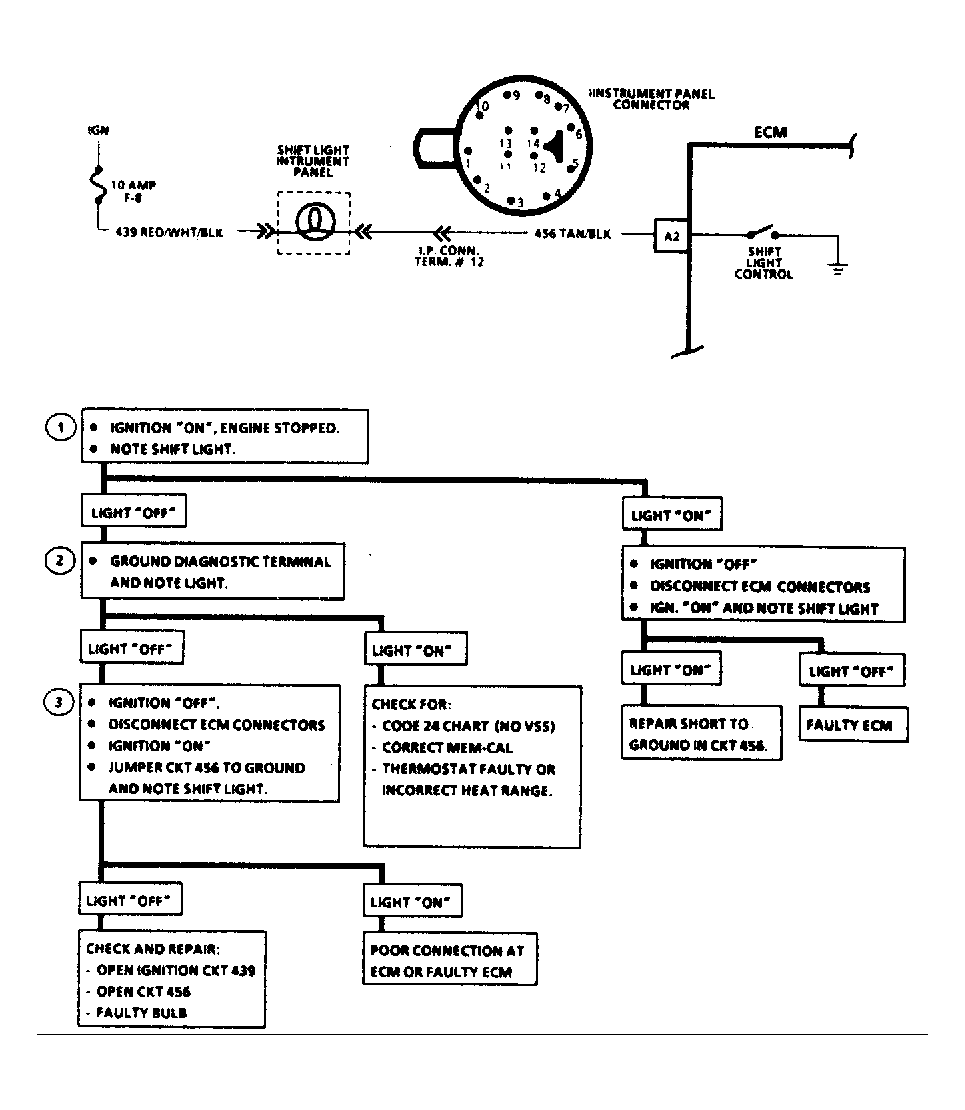
Use circuit wiring diagram and diagnostic flow chart (C-8B) to diagnose shift light on manual transmission vehicles. See Fig 1 .

Fig 1: Shift Light Diagnostic Flow Chart (C-8B)
G94635Courtesy of GENERAL MOTORS CORP.