LEMON Manuals: Even more car manuals for everyone
Home >> Plymouth >> 1983 >> Sapporo Standard >> Repair and Diagnosis >> Engine Performance >> System >> PCV System >> Maintenance

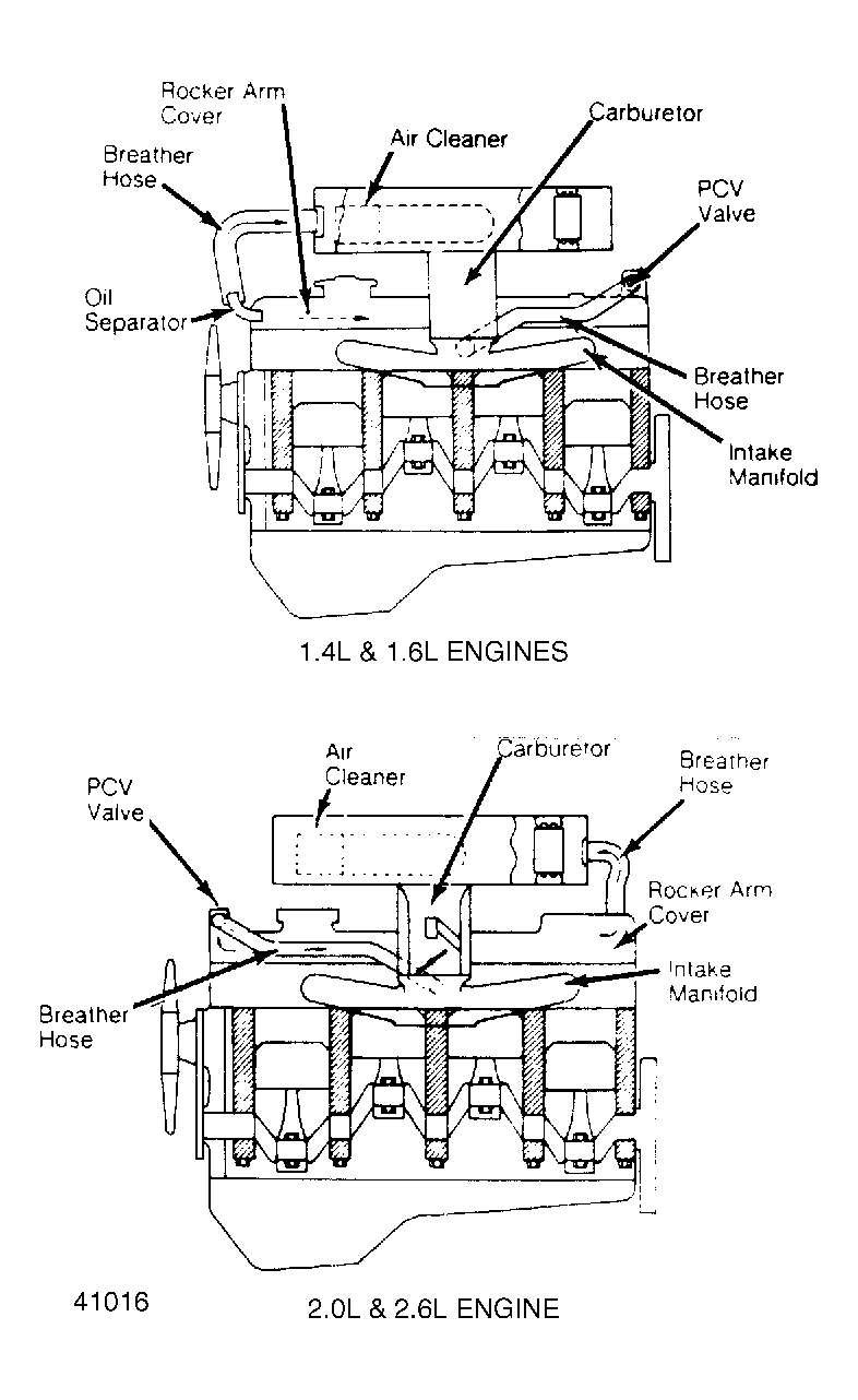
PCV System: Maintenance

Check and clean entire crankcase ventilation system every 5 years/50,000 miles.

Fig 1: Crankcase Ventilation System Schematic Note blow-by gas and fresh air flows.
G41016