Powertrain Control Module (PCM) Connectors
Powertrain Control Module (PCM) C1 Connector End View
| Connector Part Information |
|
||
|---|---|---|---|
| Pin | Wire Color | Circuit No. | Function |
| 1 | L-BU | 1162 | APP Sensor 2 Signal |
| 2 | D-BU | 1161 | APP Sensor 1 Signal |
| 3 | L-BU | 1320 | Stop Lamp Supply Voltage |
| 4 | GY/BK | 1694 | 4WD Low Signal (NP8) |
| 5 | GY/BK | 87 | Cruise Control Resume/Accel Switch Signal |
| 6 | D-BU | 84 | Cruise Control Set/Coast Switch Signal |
| 7 | BN/WH | 419 | MIL Control |
| 8 | OG/BK | 510 | Low Reference |
| 9 | - | - | Not Used |
| 10 | BN | 1271 | Low Reference |
| 11 | PU | 1272 | Low Reference |
| 12 | BK | 2759 | Low Reference |
| 13 | BK | 2760 | Low Reference |
| 14 | BK | 2751 | Low Reference |
| 15-16 | - | - | Not Used |
| 17 | GY | 397 | Cruise Control On Switch Signal |
| 18 | - | - | Not Used |
| 19 | PK | 439 | Ignition 1 Voltage |
| 20 | OG | 440 | Battery Positive Voltage |
| 21 | PK | 1020 | Ignition 0 Voltage |
| 22 | PU | 1589 | Fuel Level Sensor Signal - Primary |
| 23-24 | - | - | Not Used |
| 25 | YE/BK | 1827 | Vehicle Speed Signal |
| 26-27 | - | - | Not Used |
| 28 | PU | 420 | TCC Brake/Cruise Control Release Switch Signal |
| 29 | D-GN | 1433 | PNP Switch Signal |
| 30 | TN | 472 | IAT Sensor Signal |
| 31 | PU | 806 | Crank Voltage |
| 32 | D-GN/WH | 817 | Vehicle Speed Signal |
| 33-40 | - | - | Not Used |
| 41 | RD/BK | 380 | A/C Refrigerant Pressure Sensor Signal |
| 42 | D-GN/WH | 459 | A/C Compressor Clutch Relay Control |
| 43 | D-BU | 2364 | Cooling Fan Speed Signal |
| 44 | BN | 436 | Air Pump Relay Control (K18) |
| 45-47 | - | - | Not Used |
| 48 | YE/BK | 625 | Starter Enable Relay Control |
| 49 | WH | 121 | Engine Speed Signal |
| 50-53 | - | - | Not Used |
| 54 | GY | 2700 | 5-Volt Reference |
| 55 | WH/BK | 1164 | 5-Volt Reference |
| 56 | - | - | Not Used |
| 57 | WH/BK | 2366 | Cooling Fan Clutch Control |
| 58 | YE | 710 | Class 2 Serial Data |
| 59 | D-GN | 1049 | Class 2 Serial Data |
| 60 | GY | 2365 | Low Reference |
| 61 | D-GN | 890 | Fuel Tank Pressure Sensor Signal |
| 62 | GY | 2709 | 5-Volt Reference |
| 63 | TN | 1274 | 5-Volt Reference |
| 64-65 | - | - | Not Used |
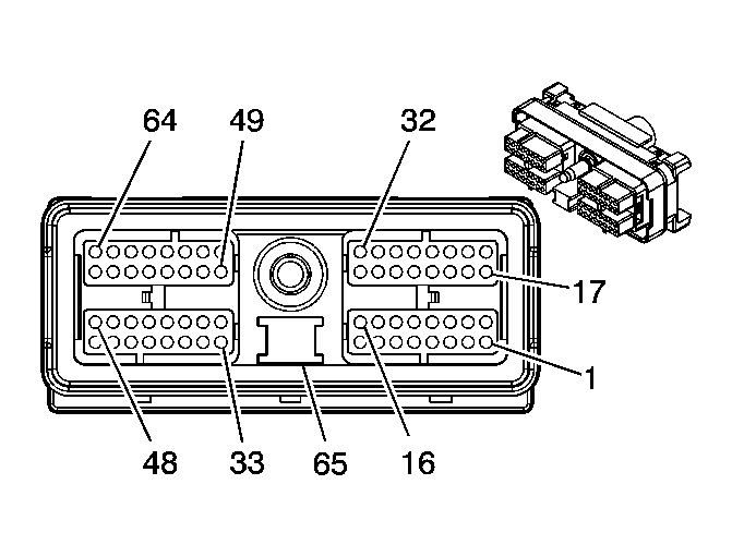
Powertrain Control Module (PCM) C2 Connector End View
| Connector Part Information |
|
||
|---|---|---|---|
| Pin | Wire Color | Circuit No. | Function |
| 1 | PU | 574 | Low Reference |
| 2 | L-GN/BK | 822 | VSS Low Signal |
| 3 | D-GN/WH | 465 | Fuel Pump Relay Control - Primary |
| 4 | L-BU/WH | 1229 | Pressure Control Solenoid Valve Low Control |
| 5 | RD/BK | 1228 | Pressure Control Solenoid Valve High Control |
| 6 | YE/BK | 846 | Fuel Injector 6 Control |
| 7 | BK/WH | 845 | Fuel Injector 5 Control |
| 8 | L-BU/BK | 844 | Fuel Injector 4 Control |
| 9 | YE | 573 | CKP Sensor Signal |
| 10 | PU/WH | 821 | VSS High Signal |
| 11 | TN/BK | 464 | Delivered Torque Signal |
| 12 | OG/BK | 463 | Requested Torque Signal |
| 13 | - | - | Not Used |
| 14 | BK | 1744 | Fuel Injector 1 Control |
| 15 | L-GN/BK | 1745 | Fuel Injector 2 Control |
| 16 | PK/BK | 1746 | Fuel Injector 3 Control |
| 17 | WH | 1310 | EVAP Canister Vent Solenoid Control |
| 18 | TN/WH | 1669 | HO2S Low Signal - Bank 1 Sensor 2 |
| 19 | YE | 410 | ECT Sensor Signal |
| 20 | D-GN/WH | 428 | EVAP Canister Purge Solenoid Control |
| 21 | - | - | Not Used |
| 22 | BN | 418 | TCC PWM Solenoid Valve Control |
| 23 | PU/WH | 1665 | HO2S High Signal - Bank 1 Sensor 1 |
| 24 | - | - | Not Used |
| 25 | L-GN | 432 | MAP Sensor Signal |
| 26 | PU/WH | 1668 | HO2S High Signal - Bank 1 Sensor 2 |
| 27 | WH | 687 | 3-2 Shift Solenoid Valve Control |
| 28 | BK/WH | 771 | Transmission Range Switch Signal A |
| 29 | TN/BK | 231 | Oil Pressure Switch Signal |
| 30 | BK/WH | 1423 | HO2S Heater Low Control - Bank 1 Sensor 2 |
| 31 | D-GN | 676 | HO2S Heater Low Control - Bank 1 Sensor 1 |
| 32 | TN | 1664 | HO2S Low Signal - Bank 1 Sensor 1 |
| 33 | - | - | Not Used |
| 34 | L-BU/WH | 2126 | IC 6 Control |
| 35 | L-BU | 2123 | IC 3 Control |
| 36 | - | - | Not Used |
| 37 | TN/BK | 422 | TCC Solenoid Valve Control |
| 38 | - | - | Not Used |
| 39 | BN | 2198 | Camshaft Position Solenoid Actuator High Control |
| 40 | D-GN | 2125 | IC 5 Control |
| 41 | D-GN/WH | 2124 | IC 4 Control |
| 42 | RD/WH | 2122 | IC 2 Control |
| 43 | - | - | Not Used |
| 44 | PU | 2121 | IC 1 Control |
| 45-50 | - | - | Not Used |
| 51 | GY | 23 | Generator Field Duty Cycle Signal |
| 52-53 | - | - | Not Used |
| 54 | OG/BK | 469 | Low Reference |
| 55-56 | - | - | Not Used |
| 57 | YE/BK | 1223 | 2-3 Shift Solenoid Valve Control |
| 58 | BK | 2761 | Low Reference |
| 59 | L-GN | 1222 | 1-2 Shift Solenoid Valve Control |
| 60-61 | - | - | Not Used |
| 62 | BK | 2199 | Low Reference |
| 63 | - | - | Not Used |
| 64 | GY | 2704 | 5-Volt Reference |
| 65 | BK | 450 | Ground |
Powertrain Control Module (PCM) C3 Connector End View
| Connector Part Information |
|
||
|---|---|---|---|
| Pin | Wire Color | Circuit No. | Function |
| 1 | D-BU | 496 | KS 1 Signal |
| 2 | RD | 225 | Generator Turn On Signal |
| 3 | GY | 2701 | 5-Volt Reference |
| 4-7 | - | - | Not Used |
| 8 | BK | 2762 | Low Reference |
| 9 | L-BU | 1876 | Knock Sensor 2 Signal |
| 10 | D-BU | 1225 | Transmission Fluid Pressure Switch Signal B |
| 11 | - | - | Not Used |
| 12 | YE | 772 | Transmission Range Switch Signal B |
| 13 | WH | 776 | Transmission Range Switch Signal P |
| 14 | PU | 421 | Air Solenoid Relay Control (K18) |
| 15 | - | - | Not Used |
| 16 | BK/WH | 1704 | Low Reference |
| 17 | PK | 839 | Ignition 1 Voltage |
| 18 | RD | 631 | 12-Volt Reference |
| 19 | RD | 1226 | Transmission Fluid Pressure Switch Signal C |
| 20 | GY | 773 | Transmission Range Switch Signal C |
| 21 | PK | 1224 | Transmission Fluid Pressure Switch Signal A |
| 22 | YE/BK | 1227 | TFT Sensor Signal |
| 23 | GY | 1716 | Low Reference |
| 24 | - | - | Not Used |
| 25 | BN | 582 | TAC Motor Control - 2 |
| 26 | YE | 581 | TAC Motor Control - 1 |
| 27 | - | - | Not Used |
| 28 | D-GN | 485 | TP Sensor 1 Signal |
| 29 | PK/BK | 632 | Low Reference |
| 30 | PU | 486 | TP Sensor 2 Signal |
| 31 | GY | 2303 | Low Reference |
| 32-48 | - | - | Not Used |
| 49 | L-BU/BK | 1688 | 5-Volt Reference |
| 50 | - | - | Not Used |
| 51 | BN/WH | 633 | CMP Sensor Signal |
| 52-57 | - | - | Not Used |
| 58 | PU | 114 | Low Oil Pressure Switch Signal |
| 59 | BK | 2752 | Low Reference |
| 60 | GY | 597 | 5 Volt Reference |
| 61-65 | - | - | Not Used |