LEMON Manuals: Even more car manuals for everyone
Home >> Oldsmobile >> 2003 >> Bravada AWD >> Repair and Diagnosis (Single Page) >> Engine Mechanical >> Engine Mechanical - 4.2L >> Specifications >> Thread Repair Specifications >> Engine Block Left Side View

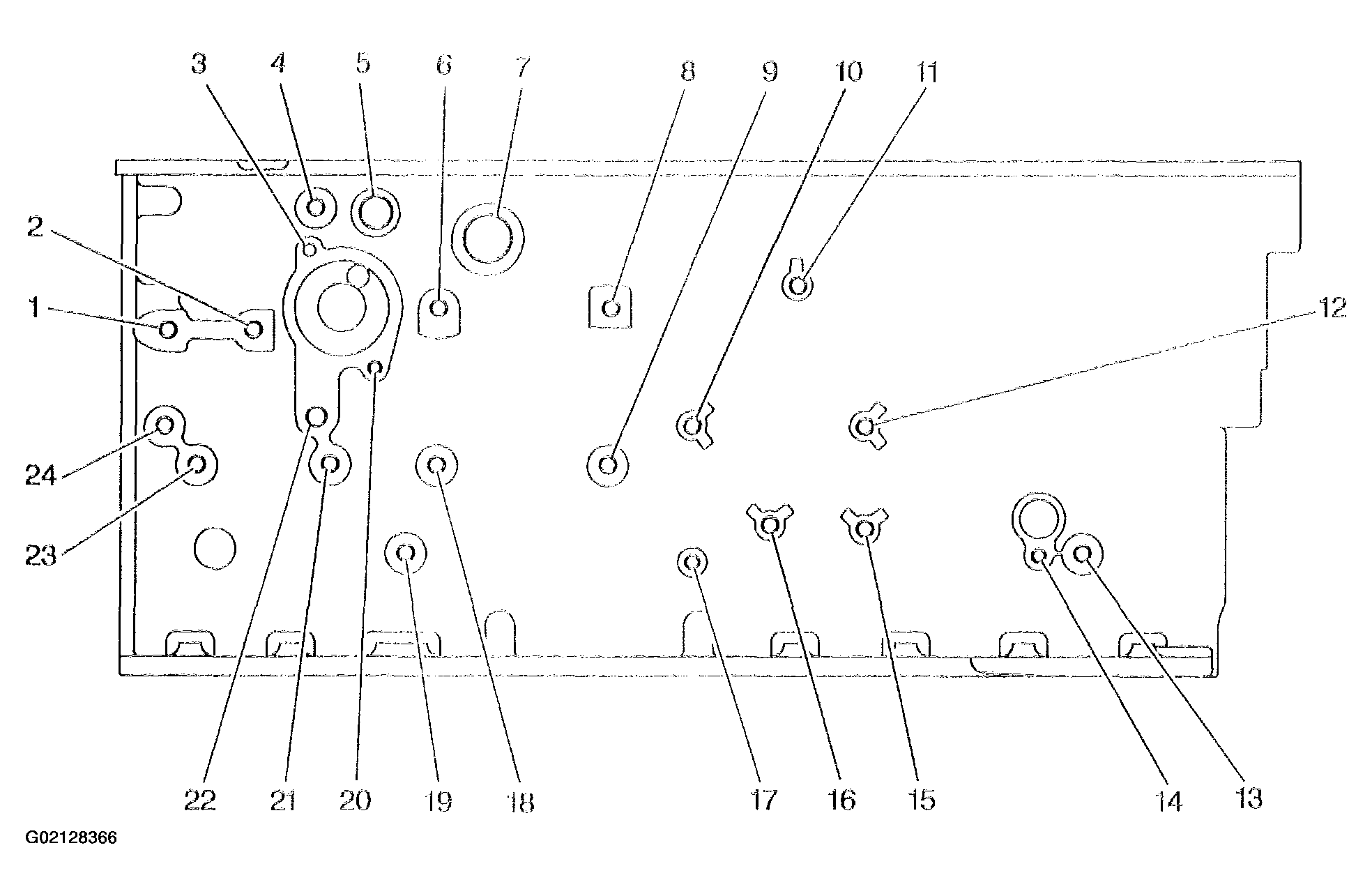
Engine Block Left Side View

Fig 1: Thread Repair Specifications - Engine Block - Left Side View
G02128366Courtesy of GENERAL MOTORS CORP.
Fig 2: Thread Repair Specifications - Engine Block - Left Side View Callouts (1 of 2)
G02128367Courtesy of GENERAL MOTORS CORP.
Fig 3: Thread Repair Specifications - Engine Block - Left Side View Callouts (2 of 2)
G02128368Courtesy of GENERAL MOTORS CORP.