LEMON Manuals: Even more car manuals for everyone
Home >> Oldsmobile >> 2000 >> Intrigue GL >> Repair and Diagnosis (Single Page) >> Steering >> Electronic Steering >> Electronic Power Steering System - Variable Effort Steering >> Schematic and Routing Diagrams >> Steering Assist Schematics >> Power/Grounds, Serial Data and Variable Effort Actuator

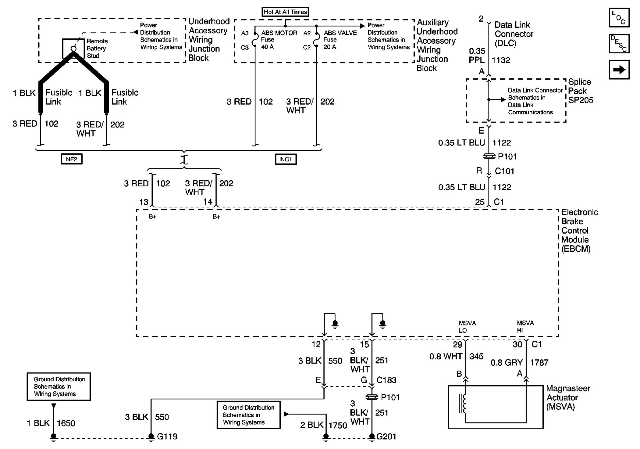
Power/Grounds, Serial Data and Variable Effort Actuator

Fig 1: Power/Grounds Wiring Diagram
GM631781Courtesy of GENERAL MOTORS CORP.