LEMON Manuals: Even more car manuals for everyone
Home >> Oldsmobile >> 2000 >> Intrigue GL >> Repair and Diagnosis (Single Page) >> Accessories & Equipment >> Wiper/Washer Systems >> Wiper System And Washer System >> Symptom Tests >> Test 2: Wipers Operate When Switch Is In Off Position

Test 2: Wipers Operate When Switch Is In Off Position

  1. Turn ignition switch to RUN position. Turn wiper switch to OFF position. Disconnect wiper switch 13-pin connector from 48-pin connector. Connector is located behind instrument panel, on right side of steering column. If wiper motor continues to operate, go to next step. If wiper motor stops, check for shorted wire in pigtail to wiper switch. Repair as necessary. If no problem is found, replace wiper switch assembly. See appropriate STEERING COLUMN SWITCHES article.
  2. On Century, Grand Prix and Regal, measure voltage between ground and Dark Green wire at wiper switch connector. On Intrigue, measure voltage between ground and Gray wire at wiper switch connector. On all models, if reading is one volt or more, go to step  4 . If reading is less than one volt, go to next step.
  3. Reconnect wiper switch connector. Disconnect wiper motor connector. Measure voltage between ground and wiper motor 5-pin connector terminal "C" (Purple wire). If battery voltage does not exist, replace wiper motor cover assembly. See WIPER MOTOR COVER (CIRCUIT BOARD)  under REMOVAL & INSTALLATION. If battery voltage exists, repair short to battery voltage in Purple wire between wiper motor and wiper switch connector. See WIRING DIAGRAMS  .
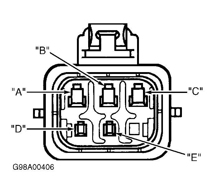
  4. Reconnect wiper switch connector. Disconnect wiper motor connector. Measure voltage between ground and wiper motor 5-pin connector terminal "D" (Dark Green wire). See Figure . If reading is less than one volt, replace wiper motor cover assembly. See WIPER MOTOR COVER (CIRCUIT BOARD)  under REMOVAL & INSTALLATION. If reading is one volt or more, repair short to voltage in Dark Green wire between wiper motor and wiper/washer switch connector. See WIRING DIAGRAMS  .