LEMON Manuals: Even more car manuals for everyone
Home >> Oldsmobile >> 1997 >> Regency >> Repair and Diagnosis (Single Page) >> Steering >> Steering Column >> Description & Operation >> Column Collapse Feature

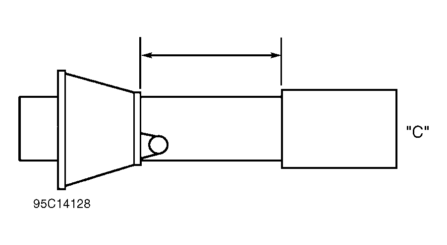
Column Collapse Feature

Steering column is designed to collapse if impacted during a collision. Steering shaft and column jacket are both 2-piece units which are internally injected with plastic. Plastic protrudes from holes in each unit keeping 2 separate pieces held together as one unit. See Figure. If the column or steering wheel is forcefully impacted, plastic pieces break off, allowing column and shaft to collapse.