LEMON Manuals: Even more car manuals for everyone
Home >> Oldsmobile >> 1997 >> Cutlass Base >> Repair and Diagnosis (Single Page) >> Accessories & Equipment >> Wiper/Washer Systems >> Wiper System And Washer System >> Testing >> Wipers Do Not Operate In Any Mode

Wipers Do Not Operate In Any Mode

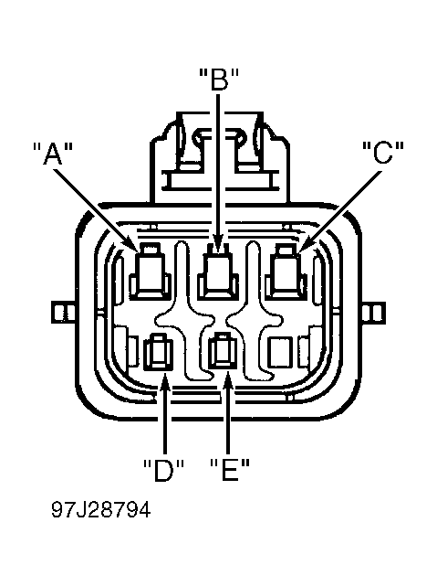
  1. Disconnect wiper switch connector. Turn ignition switch to RUN position. Connect test light between chassis ground and terminal "C" (Yellow wire) of wiper switch connector. See Figure . If test light does not come on, replace fuse and/or repair open circuit in Yellow wire.
  2. If test light is on, turn wiper switch to HI. Using a test light, backprobe from wiper motor 6-pin connector terminal "A" (Black wire) to ground. See Figure . If test light does not come on, check for bad connection at 5-pin wiper switch connector. If no faults are found, replace wiper motor.
  3. If test light is on, disconnect 6-pin connector from wiper motor. Connect test light between chassis ground and terminal "C" (Purple wire) of wiper motor connector. See Figure . If test light is on, go to next step. If test light is off, repair open circuit in Purple wire.
  4. Connect test light between terminals "A" (Black wire) and "C" (Purple wire) of 6-pin wiper motor connector. If test light is off, repair open circuit in Black wire. If test light is on, check for poor connection to wiper motor assembly. If no faults are found, replace wiper switch.