LEMON Manuals: Even more car manuals for everyone
Home >> Oldsmobile >> 1992 >> Toronado Base >> Repair and Diagnosis (Single Page) >> Engine Performance >> System >> Engine Controls - Tests W/Codes - V6 PFI >> Model Identification >> Code 24, Vehicle Speed Sensor (VSS)

Code 24, Vehicle Speed Sensor (VSS)

NOTE: Test numbers refer to numbers on diagnostic chart.
  1. Code 24 will set if vehicle speed is less than 3 MPH when engine is running, Code 29 and 31 are not set, vehicle is in 4th gear and all conditions have been met for 2-40 seconds.
  2. Before replacing control unit, check MEM-CAL for correct application.
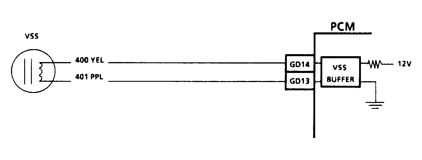
Fig 1: Code 24, Schematic, Vehicle Speed Sensor (VSS)
G91F07396
Fig 2: Code 24, Flow Chart, Vehicle Speed Sensor (VSS)
G91E07292
Fig 3: Code 24
GB0011357