LEMON Manuals: Even more car manuals for everyone
Home >> Oldsmobile >> 1992 >> Toronado Base >> Repair and Diagnosis (Single Page) >> Engine Performance >> System >> Engine Controls - Tests W/Codes - 3.8L PFI >> Pcm/BCM Code Charts >> Code 58, Pass-Key Fuel Enable CKT >> Before replacing decoder module, check system for following common problems:

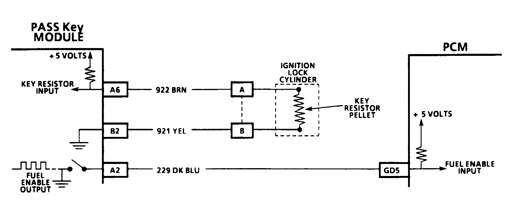
Before replacing decoder module, check system for following common problems:

Fig 1: Code 58, Schematic, Pass-Key Fuel Enable Ckt
G91J07464
Fig 2: Code 58, Flow Chart, Pass-Key Fuel Enable Ckt
G91J07360
Fig 3: Code 58 Flow Chart
GB0021676