LEMON Manuals: Even more car manuals for everyone
Home >> Oldsmobile >> 1991 >> Toronado Base >> Repair and Diagnosis (Single Page) >> Engine Performance >> System >> Engine Controls - Tests W/Codes - Pcm/BCM >> Manual Operation Of Service Mode >> Making Specific Test Selection

Making Specific Test Selection

  1. On NON-CRT equipped vehicles, scrolling to a lower specific test number is done by depressing FAN DOWN button. Scrolling to a higher specific test number is done by depressing FAN UP button. The system will automatically display the value for whatever specific test number is displayed.
  2. On CRT monitor equipped vehicles, scrolling to a lower specific test number is done by touching NO key on CRT monitor control panel. Scrolling to a higher number is done by touching YES key. The system will automatically display the value for whatever specific test number is displayed.
NOTE: To cancel a specific test type selection and activate a repeat of specific test type selection process, depress OFF button on ECCP of NON-CRT equipped vehicles or touch LEVL key on CRT monitor control panel of CRT equipped vehicles.
Fig 1: ECM (PCM) System Diagnostic Flow Chart (1 of 2) without CRT
G91B11875Courtesy of GENERAL MOTORS CORP.
Fig 2: ECM (PCM) System Diagnostic Flow Chart (2 of 2) without CRT
G91C11876Courtesy of GENERAL MOTORS CORP.
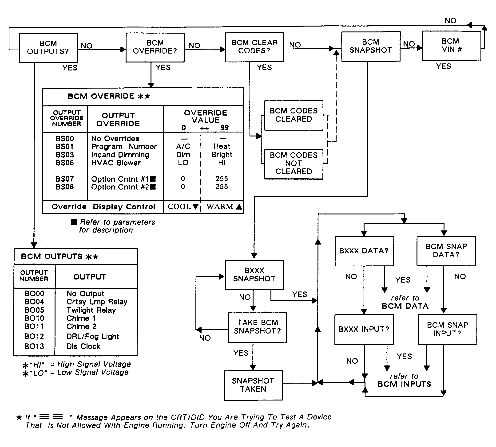
Fig 3: BCM System Diagnostic Flow Chart (1 of 2) without CRT
G91D11877Courtesy of GENERAL MOTORS CORP.
Fig 4: BCM System Diagnostic Flow Chart (2 of 2) without CRT
G91E11878Courtesy of GENERAL MOTORS CORP.
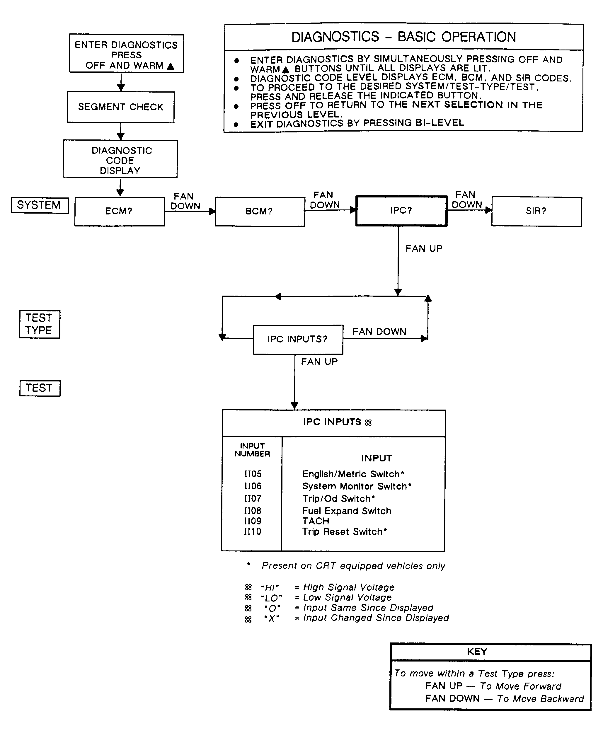
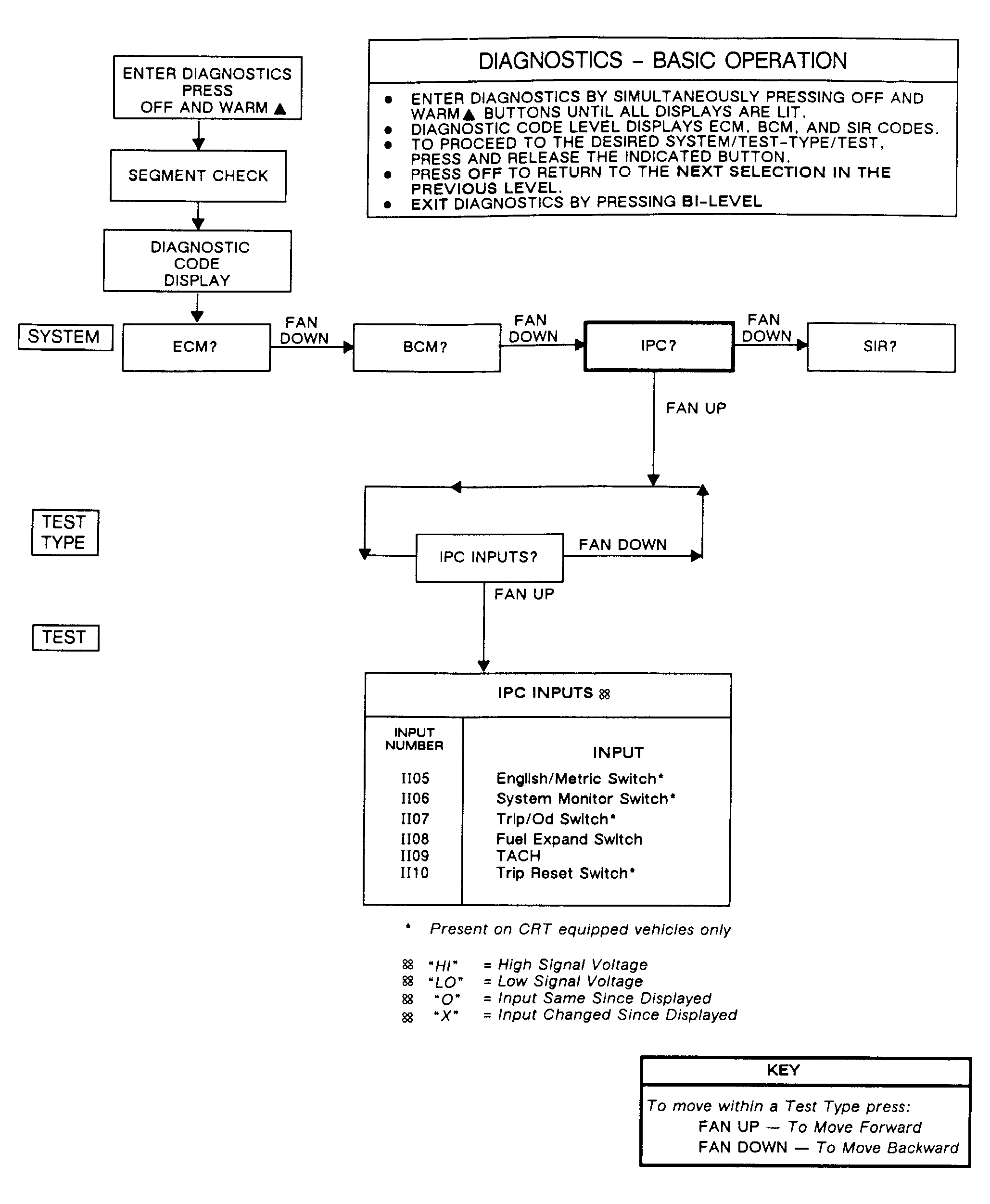
Fig 5: IPC System Diagnostic Flow Chart without CRT
G91F11879Courtesy of GENERAL MOTORS CORP.
Fig 6: SIR System Diagnostic Flow Chart without CRT
G91I11880Courtesy of GENERAL MOTORS CORP.
Fig 7: ECM (PCM) System Diagnostic Flow Chart (1 of 2) with CRT
G91J11881Courtesy of GENERAL MOTORS CORP.
Fig 8: ECM (PCM) System Diagnostic Flow Chart (2 of 2) with CRT
G91A11882Courtesy of GENERAL MOTORS CORP.
Fig 9: BCM System Diagnostic Flow Chart (1 of 2) with CRT
G91B11883Courtesy of GENERAL MOTORS CORP.
Fig 10: BCM System Diagnostic Flow Chart (2 of 2) with CRT
G91C11884Courtesy of GENERAL MOTORS CORP.
Fig 11: IPC System Diagnostic Flow Chart with CRT
G91D11885Courtesy of GENERAL MOTORS CORP.
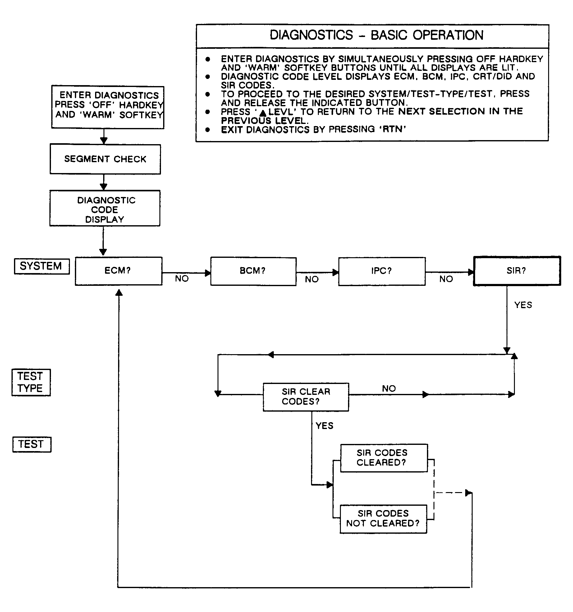
Fig 12: SIR System Diagnostic Flow Chart with CRT
G91E11886Courtesy of GENERAL MOTORS CORP.