LEMON Manuals: Even more car manuals for everyone
Home >> Oldsmobile >> 1991 >> Toronado Base >> Repair and Diagnosis (Single Page) >> Engine Performance >> System >> Engine Controls - Tests W/Codes - Pcm/BCM >> Display Head Diagnostic Flow Charts >> Chart D, Serial Data Circuit Open (CRT Equipped)

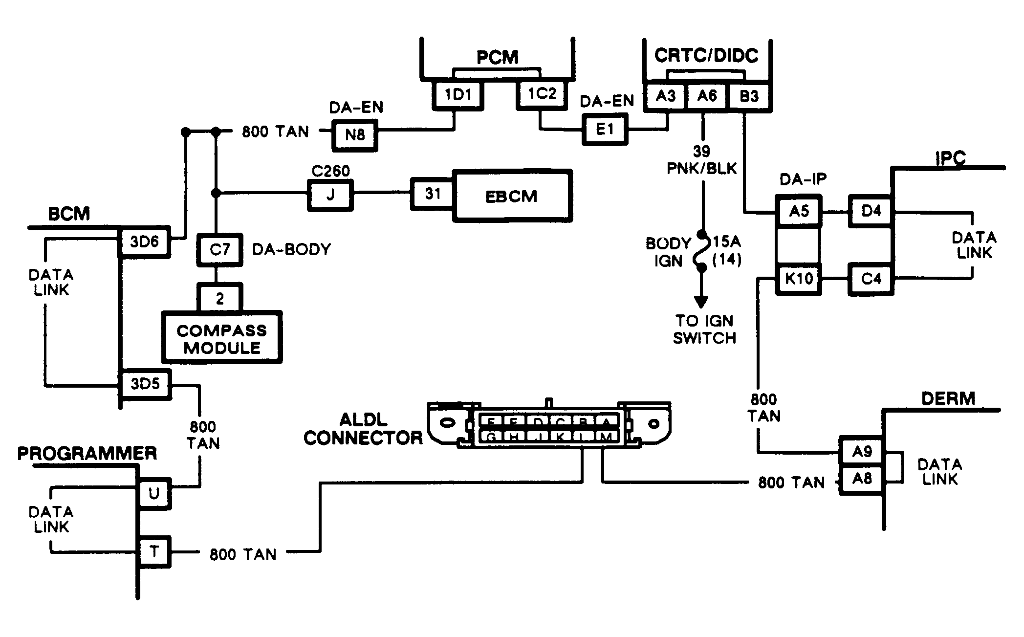
Chart D, Serial Data Circuit Open (CRT Equipped)

NOTE: The Electronic Control Module (ECM) may be referred to as the Powertrain Control Module (PCM) in diagnostic charts and figures. The 2 terms may be used interchangeably.

Serial data line is redundant at most of the devices it communicates with. Only one line need be connected to each device for that system to function. When making repairs, both lines should be made operational. If when ALDL cover is removed the system shuts down, a single open existed before. Now a second open in circuit is being created by removing ALDL cover.

NOTE: Test numbers refer to numbers on diagnostic chart.
  1. This test and all subsequent tests are designed to subdivide data line. This is necessary to pinpoint location of open in data line. This is not the only way to pinpoint an open, but in this case, will most quickly lead to the open.
Fig 1: Chart D, Schematic Serial Data Circuit Open (CRT Equipped)
G91E11902
Fig 2: Flow Chart D, Serial Data Circuit Open (CRT Equipped) (1 of 2)
GB0022666
Fig 3: Flow Chart D, Serial Data Circuit Open (CRT Equipped) (2 of 2)
GB0022667