LEMON Manuals: Even more car manuals for everyone
Home >> Oldsmobile >> 1988 >> Toronado Base >> Repair and Diagnosis (Single Page) >> Engine Performance >> System >> 3800 VIN [C] - BCM Tests W/Codes >> Code Testing >> Code B420, Courtesy Light Relay Circuit >> Note On Intermittents

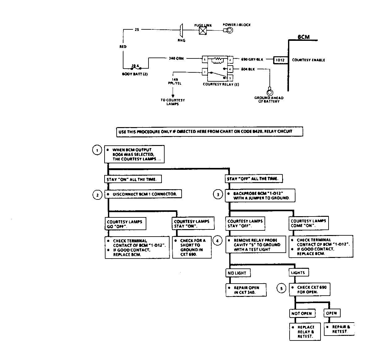
Note On Intermittents

If an intermittent Code B420 is being set, manipulate the related wiring in output mode and watch for relays to cycle.

Fig 1: Code B420, Courtesy Light Relay Circuit (2 of 3)
G57594