LEMON Manuals: Even more car manuals for everyone
Home >> Oldsmobile >> 1988 >> Toronado Base >> Repair and Diagnosis (Single Page) >> Engine Performance >> System >> 3800 VIN [C] - BCM Tests W/Codes >> Code Testing >> Code B334, Loss Of ECM Serial Data >> Note On Intermittents

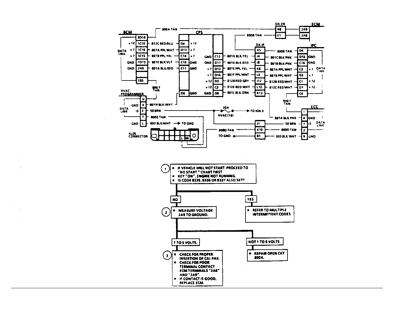
Note On Intermittents

If an intermittent Code B334 is being set, manipulate the related wiring at the ECM. With the ignition key on (engine not running), a "LOW OIL PRESSURE" message will indicate loss of ECM communication, and possibly help to isolate the intermittent without having to look for the code.

Fig 1: Code B334, Loss of ECM Serial Data
G57572