LEMON Manuals: Even more car manuals for everyone
Home >> Oldsmobile >> 1987 >> Toronado >> Repair and Diagnosis (Single Page) >> Engine Performance >> System >> BCM Tests W/Codes (Part I) >> ECM Trouble Code Charts >> Code EO38, Manifold Air Temperature (Mat) Sensor Too Low >> Note On Intermittent

Note On Intermittent

If an intermittent Code EO38 is being set, manipulate the related wiring while observing engine data parameter ED05. If the failure is induced, the "MAT" reading will drop from its normal value to the "open" reading of -35 to -40°C. This will help to isolate the location of the malfunction.

Fig 1: Code E038, Manifold Air Temperature (MAT) Sensor Too Low
G5060
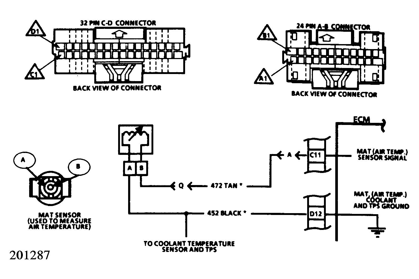
Fig 2: Code E038, Schematic
G201287