LEMON Manuals: Even more car manuals for everyone
Home >> Oldsmobile >> 1987 >> Toronado >> Repair and Diagnosis (Single Page) >> Engine Performance >> System >> BCM Tests W/Codes (Part I) >> ECM Trouble Code Charts >> Code EO13, Open Oxygen Sensor Circuit >> Note On Intermittent

Note On Intermittent

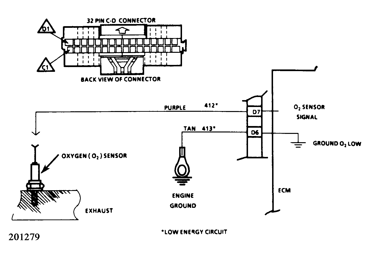
If an intermittent Code EO13 is being set, manipulate the related wiring while observing engine data parameter ED07 at part throttle with the engine warm. System should be in "closed loop". If the failure is induced, the oxygen sensor reading will change from its normal fluctuating voltage (above .60 and below .30) to a fixed value around .45 volts. This will help to isolate the location of the malfunction.

Fig 1: Code E013, Open Oxygen Sensor Circuit
G5049
Fig 2: Code E013, Schematic
G201279