LEMON Manuals: Even more car manuals for everyone
Home >> Oldsmobile >> 1985 >> Calais Base, 2.5 U, Standard >> Repair and Diagnosis >> Engine Performance >> Remove, Overhaul & Install >> CCC Component Removal & Installation >> Removal & Installation >> Throttle Position Sensor (TPS) R&I - CARBURETED Models >> Installation

Throttle Position Sensor (TPS) R&I - CARBURETED Models: Installation

  1. Install TPS and connector assembly in float bowl by aligning groove in electrical connector with slot in float bowl casting. Push down on connector and sensor assembly so that connector and wires are located below bowl casting surface. Be sure Green TPS actuator plunger is in place in air horn.
  2. Install air horn gasket, holding pump plunger assembly down against return spring tension and aligning pump plunger stem with hole in gasket. Align holes in gasket over TPS plunger, solenoid plunger return spring, metering rods, solenoid attaching screw and electrical connector. Position gasket over two dowel locating pins on float bowl.
  3. Install solenoid-metering rod plunger, holding down on air horn gasket and pump plunger assembly, and aligning slot in end of plunger with solenoid attaching screw.
  4. Carefully lower air horn assembly onto float bowl while positioning TPS adjustment lever over TPS, and guiding pump plunger stem through seal in air horn casting. To ease installation, insert a thin screwdriver between air horn gasket and float bowl to raise TPS adjustment lever, positioning it over the sensor.
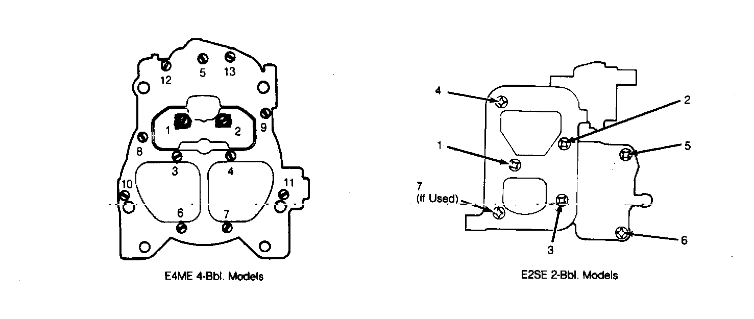
  5. Install air horn screws and lockwashers, and two countersunk screws (located next to carb. venturi on 4-bbl. models). Tighten all screws evenly and securely, following air horn screw tightening sequence.
    Fig 1: Air Horn Screw Tightening Sequence
    G10211
  6. Install front vacuum break and bracket assembly on air horn, using two attaching screws. Install pump link to pump lever and insert retainer pin.
  7. Install choke rod into lower choke lever inside bowl cavity. Install choke rod in slot in upper choke lever, and position lever on end of choke shaft (make sure flats on end of shaft align with flats in lever). Install attaching screw and tighten securely. When properly installed, lever will point to rear of carburetor, and number on lever will face outward.
  8. Install M/C solenoid, TPS and idle speed solenoid electrical connectors. Clear trouble code memory and check TPS voltage. Voltage reading, with A/C off and throttle at curb idle position, should be .26 volts for V6 models, or .41 volts for V8s.