LEMON Manuals: Even more car manuals for everyone
Home >> Oldsmobile >> 1966 >> Dynamic Base, Eng CD ML, Standard Trans, Trans Mfr CD 160T >> Repair and Diagnosis (Single Page) >> Accessories & Equipment >> Steering Column Switches >> Direction Signals >> Servicing >> Notes

Direction Signals: Servicing: Notes

  1. FLASHER & BULB REPLACEMENT CAUTIONS:  ) If 2 bulbs per side of car (1 front, 1 rear) flash during turn signal operation, "2 Bulb" flasher is required. If 3 bulbs per side of car (1 front, 2 rear) are used, "3 Bulb" flasher is required. Be sure to install correct type flasher according to number of bulbs in system or inoperative system, shortened bulb life, and rapid flashing rate will result.
    NOTE: Some manufacturers recommend use of "series" type flashers only. Do not use "magnetic" type.
  2. Heavy duty miniature bulbs are used in many cars. These bulbs require use of heavy duty type flasher since all components of system must be compatible. All bulbs in system (including dash panel indicators) must be the same type, that is, either "standard" or "heavy duty miniature" (see table below for equivalent bulb numbers); and flasher must be the same type as the bulbs.
    CAUTION: If bulbs and flasher are intermixed, abnormal flashing rates will result, and bulb and flasher life will be shortened.
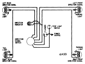
Fig 1: Single "Cross-Over" Type Indicator
G09328979Courtesy of NOT AVAILABLE
"Standard" Bulb No. "Heavy Duty" Bulb No.
1034 1157 (White), 1157A (Amber)
1073 1156
67 1155
57 1895
89 631