LEMON Manuals: Even more car manuals for everyone
Home >> Nissan-Datsun >> 2021 >> Sentra S >> Repair and Diagnosis >> Engine Performance >> Engine Control Systems >> Engine Control System (2 Of 2) >> Components/Circuit Diagnosis >> High Pressure Fuel Pump Relay >> Component Inspection

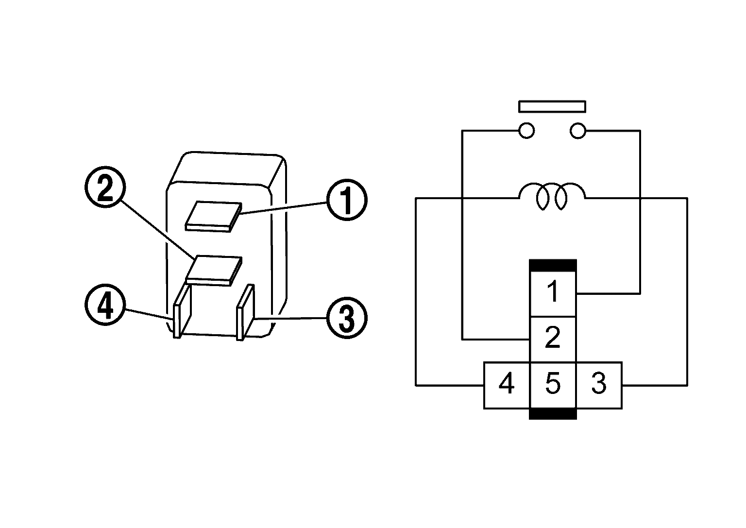
Component Inspection

  1. CHECK HIGH PRESSURE FUEL PUMP RELAY 
    1. Turn ignition switch OFF.
    2. Remove high pressure fuel pump relay. Refer to Component Location .
    3. Check the continuity between high pressure fuel pump relay terminals.
      GNSILL0290694-694Courtesy of NISSAN NORTH AMERICA, INC.

      High pressure fuel pump relay

      Condition

      Continuity

      +

      -

      Terminal

      1

      2

      12 V direct current supply between terminals 3 and 4

      Existed

      No current supply

      Not existed

    Is the inspection result normal?

    YES

    INSPECTION END

    NO

    Replace high pressure fuel pump relay. Refer to Component Location .